
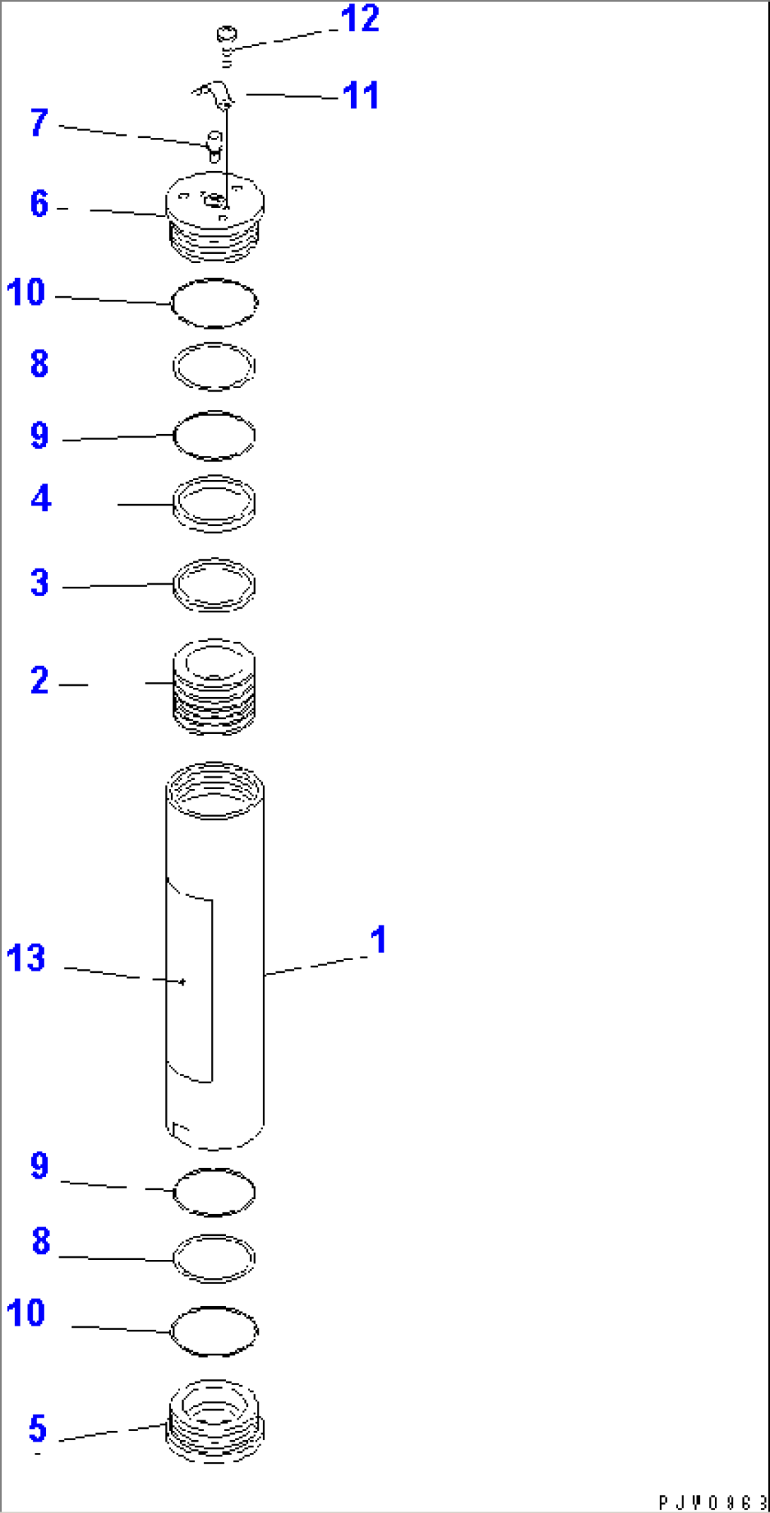
| Item | Part No. | Part Name | Qty | Serial No. |
| 721-32-08041 | ACCUMULATOR,(FINAL COATING) | 54177- | ||
| 721-32-08040 | ACCUMULATOR | 54140-54176 | ||
| 1 | 721-10-10280 | CYLINDER | 54001- | |
| 2 | 721-36-10030 | PISTON | 54177- | |
| 2 | 721-36-10020 | PISTON | 54001-54176 | |
| 3 | 721-47-12020 | RING | 54001- | |
| 4 | 721-47-12080 | SEAL | 54001- | |
| 5 | 721-26-10060 | COVER,BOTTOM | 54001- | |
| 6 | 721-29-10090 | COVER,TOP | 54001- | |
| 7 | 721-89-12011 | VALVE | 54001- | |
| 8 | 707-35-91020 | RING,BACK-UP | 54140- | |
| 9 | 07000-15090 | O-RING | 54001- | |
| 10 | 07000-12100 | O-RING | 54140- | |
| 11 | 707-88-45770 | COVER | 54001- | |
| 12 | 707-88-81480 | SCREW | 54140- | |
| 13 | 721-89-10053 | PLATE, SPECIFICATION | 54177- | |
| 13 | 721-89-10051 | PLATE, SPECIFICATION | 54140- |
