
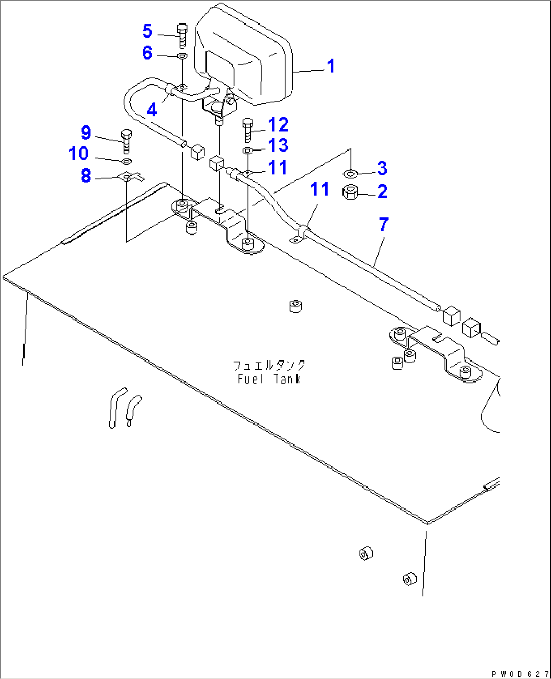
| Item | Part No. | Part Name | Qty | Serial No. |
| 1 | 14X-06-21120 | WORK LAMP ASS'Y | 4001- | |
| 2 | 01582-11411 | NUT | 4001- | |
| 3 | 01643-31445 | WASHER | 4001- | |
| 4 | 04434-51010 | CLIP | 4001- | |
| 5 | 01010-81016 | BOLT | 4001- | |
| 6 | 01643-31232 | WASHER | 4001- | |
| 7 | 14X-06-24481 | WIRING HARNESS | 4001- | |
| 8 | 08193-21012 | CLIP | 4001- | |
| 9 | 01010-81016 | BOLT | 4001- | |
| 10 | 01643-31032 | WASHER | 4001- | |
| 11 | 04434-51010 | CLIP | 4001- | |
| 12 | 01010-81016 | BOLT | 4001- | |
| 13 | 01643-31032 | WASHER | 4001- |
