
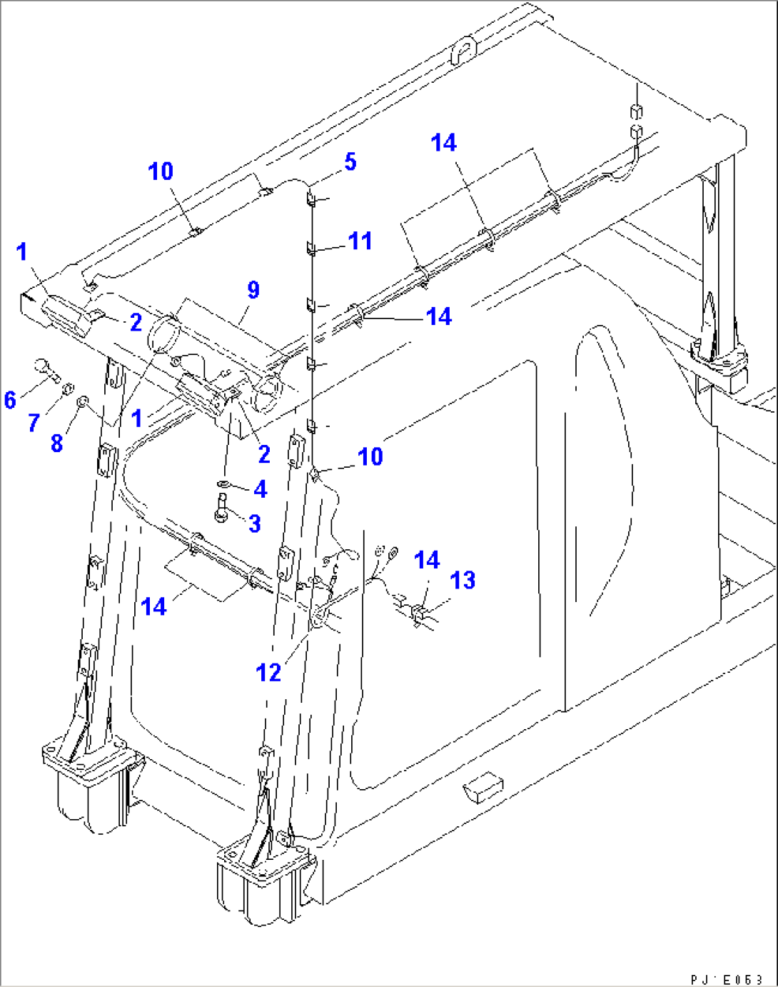
| Item | Part No. | Part Name | Qty | Serial No. |
| 1 | 20Y-06-25310 | WORK LAMP ASS'Y | 30648- | |
| 421-06-23330 | BULB¤ 70W | 30648- | ||
| 2 | 207-956-6240 | BRACKET | 30648- | |
| 3 | 01010-81230 | BOLT | 30648- | |
| 4 | 01643-30823 | WASHER | 30648- | |
| 5 | 20Y-06-21671 | WIRING HARNESS | 30648- | |
| 6 | 01010-80612 | BOLT | 30648- | |
| 7 | 01643-30623 | WASHER | 30648- | |
| 8 | 01643-31032 | WASHER | 30648- | |
| 9 | 08034-20414 | BAND | 30648- | |
| 10 | 08051-00801 | CLIP | 30648- | |
| 11 | 20Y-54-13440 | CLIP | 30648- | |
| 12 | 20Y-06-21290 | WIRING HARNESS | 30648- | |
| 13 | 569-06-61960 | RELAY | 30648- | |
| 14 | 08034-00519 | BAND | 30648- |
