
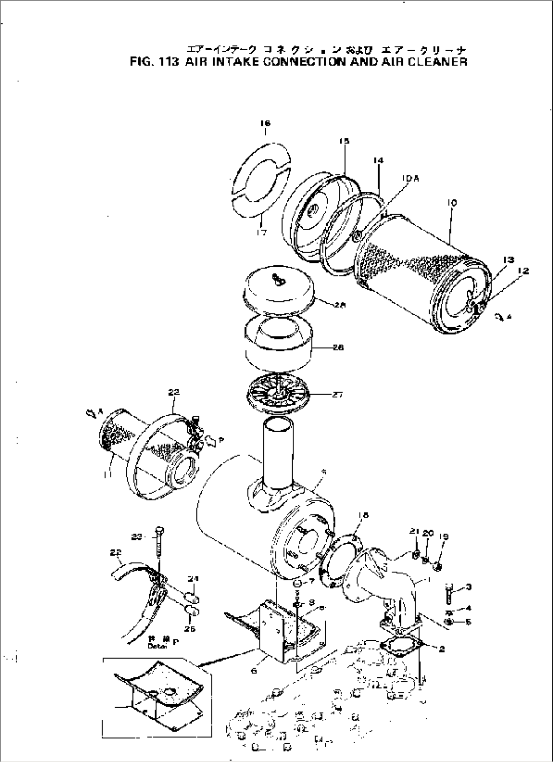
| Item | Part No. | Part Name | Qty | Serial No. |
| 1 | 6130-11-4211 | CONNECTOR,AIR INTAKE | 11106- | |
| 2 | 6130-11-4811 | GASKET (K1) | 11106- | |
| 3 | 01010-30830 | BOLT | 11106- | |
| 4 | 01602-00825 | WASHER,SPRING | 11106- | |
| 5 | 01640-20816 | WASHER | 11106- | |
| 6 | 6130-11-4313 | BRACKET | 15918- | |
| 6130-11-4312 | BRACKET | 11106-15917 | ||
| 7 | 01010-30822 | BOLT | 15918- | |
| 01010-30822 | BOLT | 11106-15917 | ||
| 8 | 01602-00825 | WASHER,SPRING | 15918- | |
| 01602-00825 | WASHER,SPRING | 11106-15917 | ||
| 600-181-5600 | AIR CLEANER ASS'Y | 11106- | ||
| 9 | 600-181-5610 | BODY | 11106- | |
| 600-181-9300 | ELEMENT ASS'Y | 11106- | ||
| 10 | 600-181-9220 | ELEMENT,OUTER | 11106- | |
| 10A | 600-181-7440 | GASKET | 11106- | |
| 11 | 600-181-9320 | ELEMENT,INNER | 11106- | |
| 600-181-7251 | ELEMENT,INNER (URETHER) | 11106- | ||
| 12 | 600-181-7510 | WASHER | 11106- | |
| 13 | 600-181-7620 | NUT,WING | 11106- | |
| 14 | 600-181-9410 | PACKING | 11106- | |
| 15 | 600-181-9130 | COVER | 11106- | |
| 16 | 600-181-9710 | PLATE | 11106- | |
| 17 | 600-181-9720 | PLATE | 11106- | |
| 18 | 6110-11-4430 | GASKET (K1) | 11106- | |
| 19 | 01580-00806 | NUT | 11106- | |
| 20 | 01602-00825 | WASHER,SPRING | 11106- | |
| 21 | 01640-20816 | WASHER | 11106- | |
| 22 | 6130-11-4511 | BAND | 16771- | |
| 6130-11-4510 | BAND | 11106-16770 | ||
| 23 | 6110-23-6520 | BOLT | 11106- | |
| 24 | 6110-21-6530 | PIN | 11106- | |
| 25 | 6110-21-6540 | PIN¤ WITH THREAD | 11106- | |
| 600-181-9140 | PRE-CLEANER ASS'Y | 31350- | ||
| \0\6110-83-9100 | PRE-CLEANER ASS'Y | 11106-31349 | ||
| 26 | 6110-83-9110 | BODY | 11160- | |
| 27 | 600-181-9150 | SLEEVE | 31350- | |
| \0\6110-83-9120 | SLEEVE | 11106-31349 | ||
| 28 | 6110-83-9130 | COVER | 11106- |
