
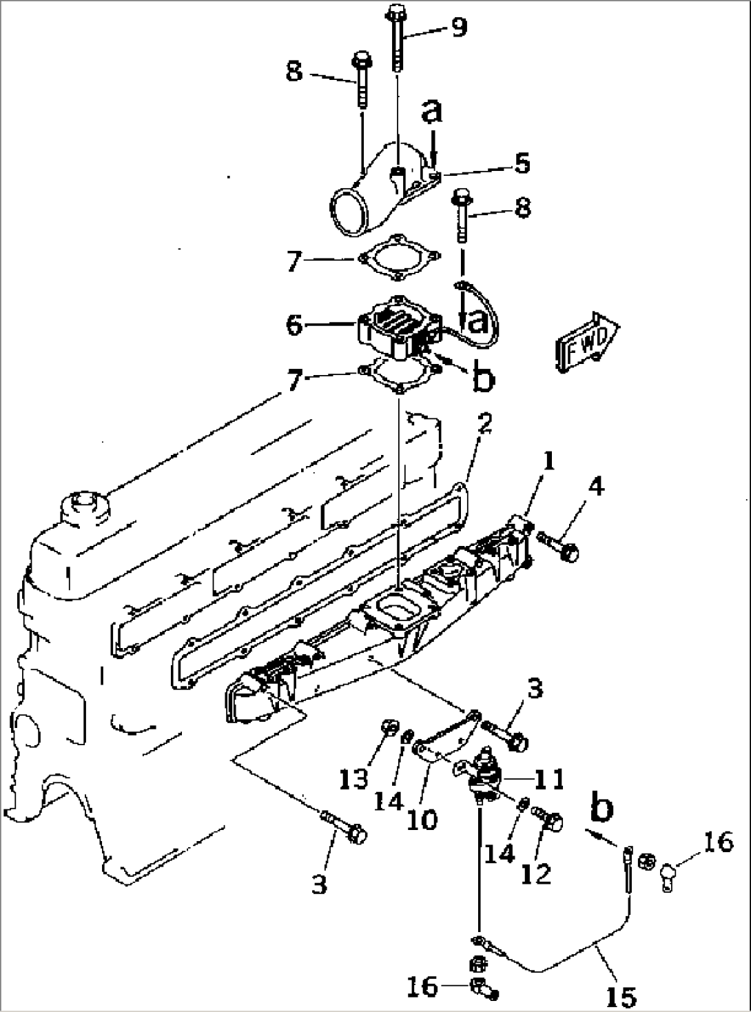
| Item | Part No. | Part Name | Qty | Serial No. |
| 1 | 6136-12-4120 | MANIFOLD,AIR INTAKE | 92268- | |
| 2 | 6136-11-4811 | GASKET (K1) | 92268- | |
| 3 | 01435-00860 | BOLT | 106576- | |
| 4 | 01435-00845 | BOLT | 106576- | |
| 5 | 6136-11-4260 | CONNECTOR,AIR | 92268- | |
| 6 | 600-815-2341 | HEATER,RIBBON | 92268- | |
| 7 | 6136-11-4820 | GASKET (K1) | 92268- | |
| 8 | 01435-20865 | BOLT | 106576- | |
| 9 | 6222-11-4920 | BOLT | 106576- | |
| 10 | 6136-81-4111 | PLATE | 92268- | |
| 11 | 600-815-2170 | SWITCH | 92268- | |
| 12 | 01435-00614 | BOLT | 106576- | |
| 13 | 01584-00605 | NUT | 106576- | |
| 14 | 01641-20610 | WASHER | 92268- | |
| 15 | 6136-81-4340 | WIRE¤ 250MM | 105882- | |
| 16 | 08038-00519 | CAP | 106576- |
