
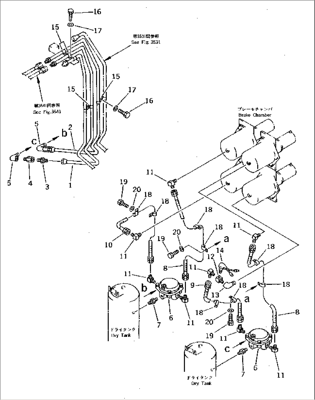
| Item | Part No. | Part Name | Qty | Serial No. |
| 1 | 427-35-11161 | TUBE | 10001-10499 | |
| 2 | 427-35-11151 | TUBE | 10001-10499 | |
| 3 | 07214-71217 | CONNECTOR | 10001-10499 | |
| 3 | (\2\07214-51217) | CONNECTOR | (10001-.) | |
| 4 | 20S-01-11210 | NIPPLE | 10001-10499 | |
| 5 | 07323-B0200 | ELBOW | 10001-10499 | |
| 5 | (\2\07323-30200) | ELBOW | (10001-.) | |
| 6 | (427-35-15130) | VALVE ASS'Y,RELAY (SEE FIG.3611) | 10001-@ | |
| 7 | 07327-20400 | NIPPLE | 10001-@ | |
| 8 | 07102-20310 | HOSE | 10001-10499 | |
| 9 | 07102-20307 | HOSE | 10001-10499 | |
| 10 | 07102-20308 | HOSE | 10001-10499 | |
| 11 | 424-35-12730 | ELBOW | 10001-@ | |
| 11 | (\2\175-79-82640) | ELBOW | (10001-.) | |
| 12 | 424-35-12750 | JOINT | 10001-10499 | |
| 12 | (\2\411-44-13341) | JOINT | (10001-.) | |
| 13 | 07323-B0300 | ELBOW | 10001-10499 | |
| 13 | (\2\07323-30300) | ELBOW | (10001-.) | |
| 14 | 421-06-11570 | SWITCH,STOP LAMP | 10001-@ | |
| 15 | 426-35-11250 | CLIP | 10001-10499 | |
| 16 | 01010-51016 | BOLT | 10001-10499 | |
| 17 | 01643-31032 | WASHER | 10001-10499 | |
| 18 | 08036-01814 | CLIP | 10001-@ | |
| 19 | 01010-51016 | BOLT | 10001-@ | |
| 20 | 01643-31032 | WASHER | 10001-@ |
