
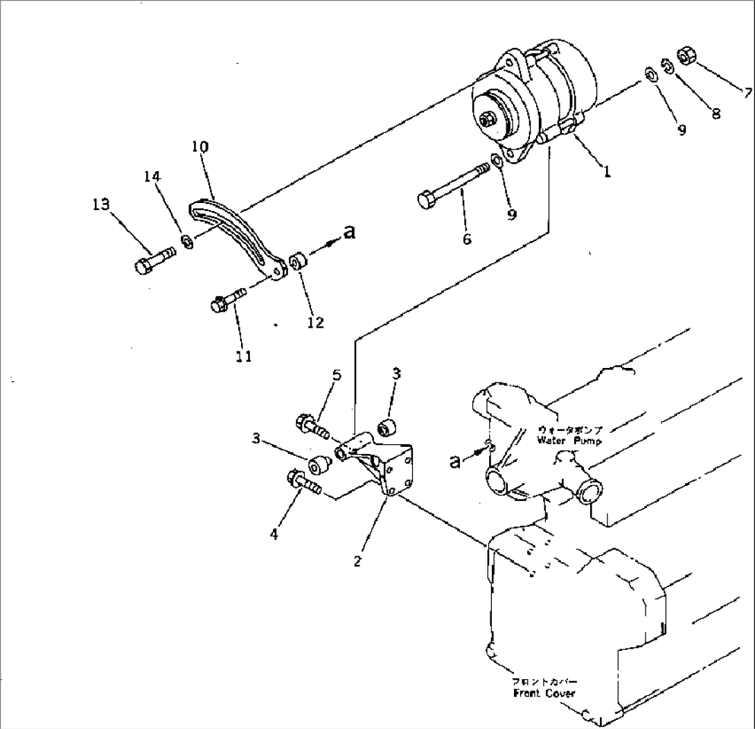
| Item | Part No. | Part Name | Qty | Serial No. |
| 1 | (600-821-7620) | ALTERNATOR A. (35A),(SEE FIG.0643) | 69608- | |
| 2 | 6207-81-6510 | BRACKET | 69608- | |
| 3 | 6206-81-6840 | SPACER | 69608- | |
| 4 | 01435-20825 | BOLT | 69608- | |
| 5 | 01435-20895 | BOLT | 69608- | |
| 6 | 6206-81-6920 | BOLT | 69608- | |
| 7 | 01580-01210 | NUT | 69608- | |
| 8 | 01602-01236 | WASHER,SPRING | 69608- | |
| 9 | 01640-21223 | WASHER | 69608- | |
| 10 | 6206-81-6630 | PLATE,ADJUST | 69608- | |
| 11 | 01435-20870 | BOLT | 69608- | |
| 12 | 195-01-14540 | COLLAR | 69608- | |
| 13 | 01050-31230 | BOLT | 69608- | |
| 14 | 01643-31232 | WASHER | 69608- |
