
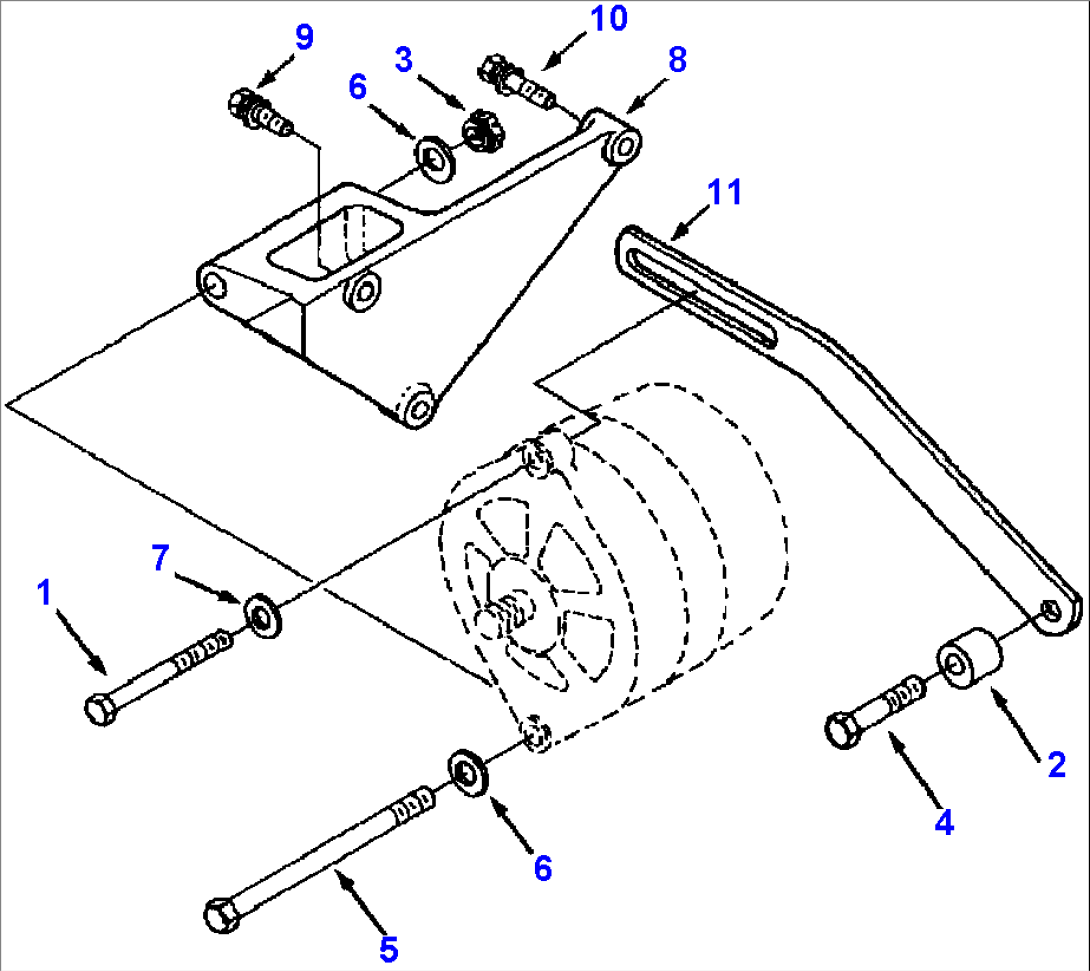
| Item | Part No. | Part Name | Qty | Serial No. |
| 1 | 1238 013 H1 | BOLT (5/8 - 11x1 1/2 INCH) | ||
| 2 | 1307 251 H1 | SPACER, LUBE OIL FILTER | ||
| 3 | 1240 088 H1 | NUT, LOCK (1/2 - 20 UNF) | ||
| 4 | 1241 752 H1 | BOLT (1/2 - 13x2 1/4 INCH) | ||
| 5 | 1238 377 H1 | BOLT (1/2 - 20x6 1/2 INCH) | ||
| 6 | 1238 628 H1 | WASHER, PLAIN (9/16 INCH) | ||
| 7 | 1238 632 H1 | WASHER, PLAIN (7/16 INCH) | ||
| 8 | 1238 945 H1 | SUPPORT, ALTERNATOR | ||
| 9 | 1239 266 H1 | BOLT (3/8 - 16x1 1/8 INCH) | ||
| 10 | 1239 267 H1 | BOLT | ||
| 11 | 1239 587 H1 | LINK, ADJUSTING |
