
| Item | Part No. | Part Name | Qty | Serial No. | 
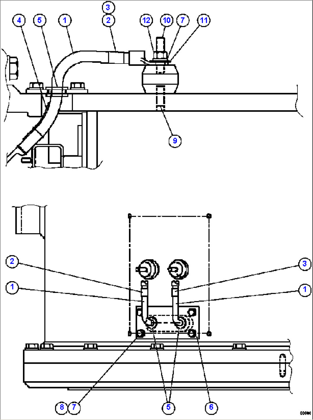
| 0 | XA4416 | STATOR ASSEMBLY | ||
| 1 | XA4422 | CABLE | ||
| 2 | GE1168 | CABLE MARKER | ||
| 3 | GE1169 | CABLE MARKER | ||
| 4 | GE1347 | PAD | ||
| 5 | VE1200 | GROMMET | ||
| 6 | XA4107 | COVER | ||
| 7 | VE4687 | LOCKWASHER - 3/8" | ||
| 8 | TC1234 | CAPSCREW - 3/8" - 16NC X 3/4" | ||
| 9 | VS6813 | STUD, INSULATED | ||
| 10 | VE4750 | INSULATOR W/STUD | ||
| 11 | VE4515 | FLAT WASHER - 3/8" | ||
| 12 | TC1233 | NUT - 3/8" - 16NC | 
