
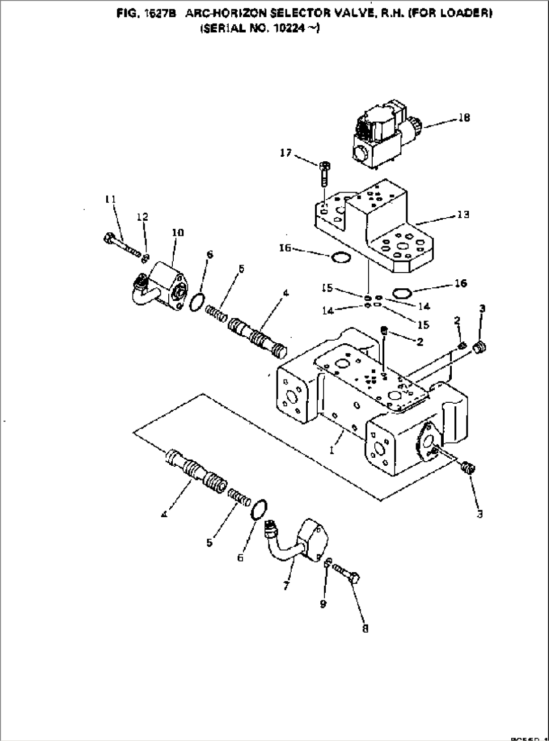
| Item | Part No. | Part Name | Qty | Serial No. |
| 209-60-12303 | ARC-HORIZON SELECTOR,R.H. | 10224- | ||
| 1 | 209-60-12262 | BODY | 10081- | |
| 2 | 07043-50108 | PLUG | 10007- | |
| 3 | 07043-50415 | PLUG | 10007- | |
| 4 | 209-60-12281 | SPOOL | 10007- | |
| 5 | 700-90-51160 | SPRING | 10007- | |
| 6 | 07000-03035 | O-RING | 10007- | |
| 7 | 209-60-12451 | TUBE | 10007- | |
| 8 | 01010-51040 | BOLT | 10007- | |
| 9 | 01602-21030 | WASHER,SPRING | 10007- | |
| 10 | 209-60-12471 | TUBE | 10007- | |
| 11 | 01010-51070 | BOLT | 10007- | |
| 12 | 01602-21030 | WASHER,SPRING | 10007- | |
| 13 | 209-62-37820 | BLOCK | 10224- | |
| 14 | 07000-01008 | O-RING | 10224- | |
| 15 | 07000-02010 | O-RING | 10224- | |
| 16 | 07000-13032 | O-RING | 10224- | |
| 17 | 01252-41025 | BOLT | 10224- | |
| 18 | 209-60-12180 | VALVE | 10007- |
