
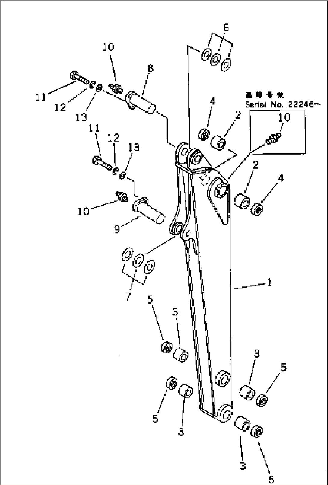
| Item | Part No. | Part Name | Qty | Serial No. |
| 20S-70-00102 | ARM ASS'Y | 8741- | ||
| 20S-70-00101 | ARM ASS'Y | 8419-8740 | ||
| \0\20S-70-00100 | ARM ASS'Y | 6001-8418 | ||
| 1 | \6\ | ARM | 8741- | |
| 1 | \6\ | ARM | 8419-8740 | |
| 1 | \6\ | ARM | 6001-8418 | |
| 2 | 20S-70-21230 | BUSHING | 8741- | |
| 2 | 20S-70-11260 | BUSHING | 6001-8740 | |
| 3 | 20S-70-11270 | BUSHING | 6001- | |
| 4 | 07145-00040 | SEAL,DUST | 6001- | |
| 5 | 07145-00035 | SEAL,DUST | 6001- | |
| 6 | 20R-70-11260 | SPACER, 1.0MM | 6001- | |
| 7 | 20R-70-11270 | SPACER, 1.0MM | 6001- | |
| 8 | 20R-70-11171 | PIN | 6001- | |
| 9 | 20R-70-11212 | PIN | 6001- | |
| 10 | 07020-00000 | FITTING,GREASE | 8741- | |
| 10 | 07020-00000 | FITTING,GREASE | 6001-8740 | |
| 11 | 01010-51230 | BOLT | 6001- | |
| 12 | 01602-21236 | WASHER,SPRING | 6001- | |
| 13 | 01643-31232 | WASHER | 6001- |
