
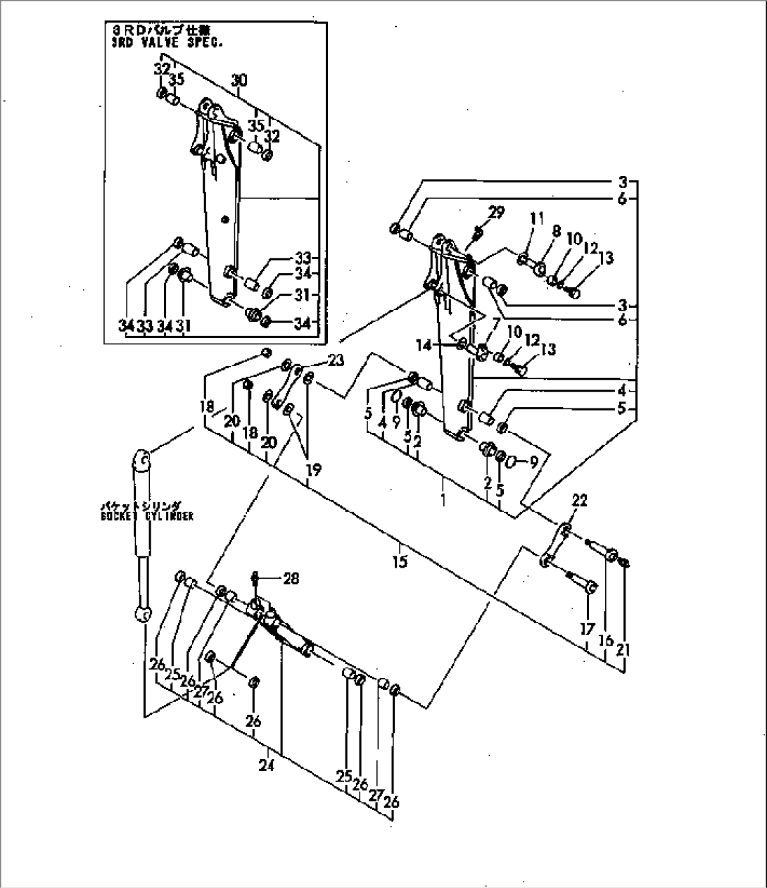
| Item | Part No. | Part Name | Qty | Serial No. |
| 1 | YM17216481203K | ARM,(GREEN) | 10239-11000 | |
| YM17216481202K | ARM,(GREEN) | 10211-10238 | ||
| YM17216481201K | ARM,(GREEN) | 10001-10210 | ||
| 2 | YM172168-81260 | BUSHING | 10001-11000 | |
| 3 | YM172168-81410 | SEAL,DUST | 10001-@ | |
| 4 | YM172164-81880 | BUSHING,PIN | 10001-@ | |
| 5 | YM172122-82290 | SEAL,DUST | 10001-@ | |
| 6 | YM172112-83500 | BUSHING | 10001-@ | |
| 7 | YM17216481500K | PIN,(GREEN) | 10001-11000 | |
| 8 | YM17216481530K | PIN,(GREEN) | 10001-@ | |
| 9 | YM172142-81620 | O-RING | 10001-@ | |
| 10 | YM172164-81670 | SPACER | 10001-@ | |
| 11 | YM172112-87860 | SHIM | 10001-@ | |
| 12 | YM22157-120000 | WASHER | 10001-@ | |
| 13 | YM26013-120302 | BOLT | 10001-@ | |
| 14 | YM933171-29750 | SHIM SET,PIN | 10001-@ | |
| 15 | YM17216481960K | PIN KIT,(GREEN) | 10001-@ | |
| 16 | YM17216481830K | PIN,(GREEN) | 10001-@ | |
| 17 | YM17216481850K | PIN,(GREEN) | 10001-@ | |
| 18 | YM933110-86600 | NUT,NYLON | 10001-@ | |
| 19 | YM933171-29751 | SHIM SET | 10001-@ | |
| 20 | YM933171-29760 | WASHER | 10001-@ | |
| 21 | YM24761-020000 | FITTING,GREASE | 10001-@ | |
| 22 | YM17216481810K | ARM,(GREEN) | 10001-@ | |
| 23 | YM17216481820K | ARM,(GREEN) | 10001-@ | |
| 24 | YM17216884402K | LINK,(GREEN) | 10001-11000 | |
| 25 | YM172164-81880 | BUSHING,PIN | 10001-11000 | |
| 26 | YM172122-82290 | SEAL,DUST | 10001-@ | |
| 27 | YM172168-84411 | BUSHING | 10001-@ | |
| 28 | YM24761-020000 | FITTING,GREASE | 10001-@ | |
| 29 | YM24761-040000 | FITTING,GREASE | 10001-@ | |
| 30 | YM172164-81310 | ARM ASS'Y,3RD | 10001-10210 | |
| 31 | YM172168-81260 | BUSHING | 10001-10210 | |
| 32 | YM172168-81410 | SEAL,DUST | 10001-10210 | |
| 33 | YM172164-81880 | BUSHING,PIN | 10001-10210 | |
| 34 | YM172122-82290 | SEAL,DUST | 10001-10210 | |
| 35 | YM172112-83500 | BUSHING | 10001-10210 | |
| 36 | YM172183-81160 | CLIP | 10211-@ |
