
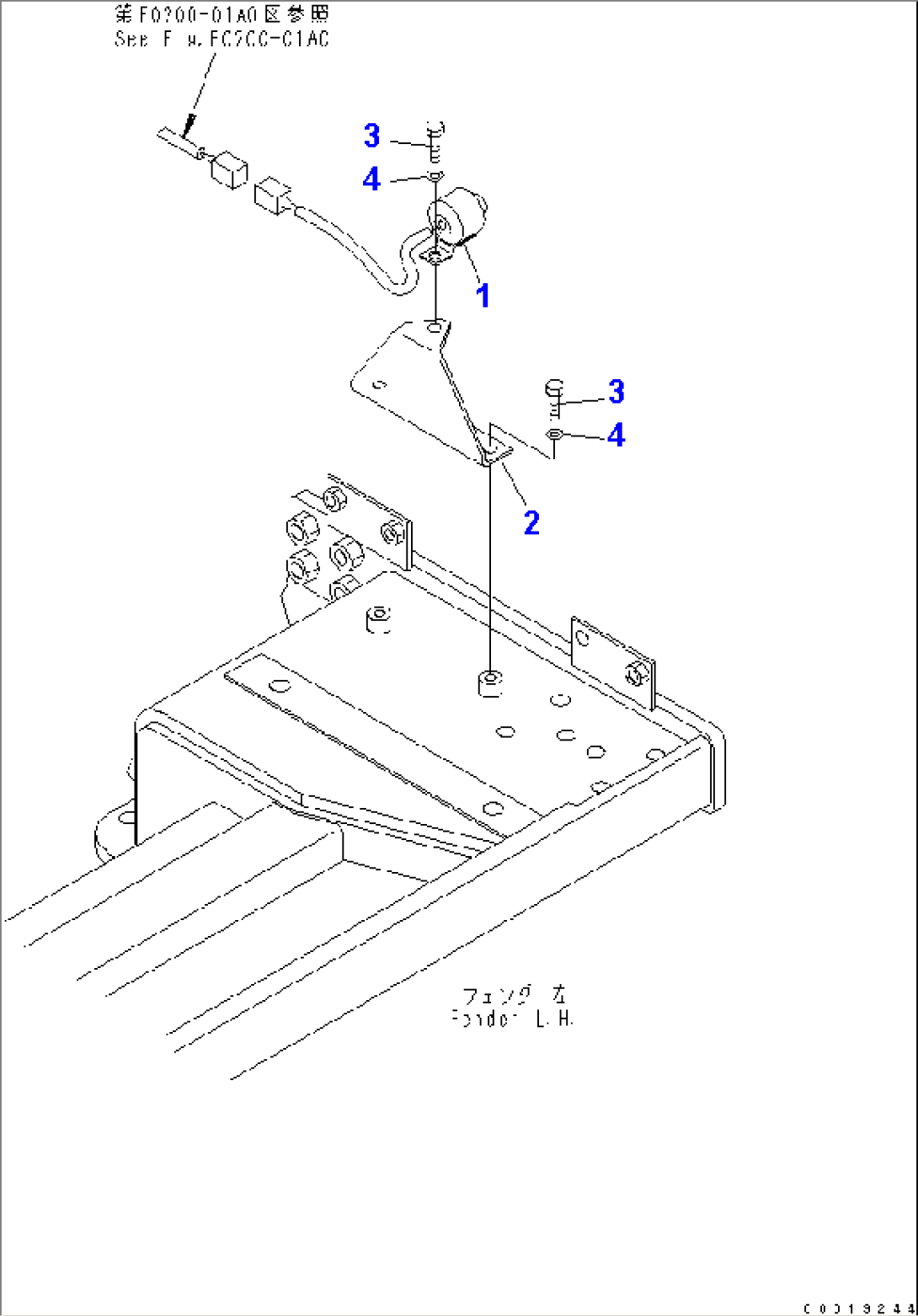
| Item | Part No. | Part Name | Qty | Serial No. |
| 1 | 11Y-06-11650 | BUZZER | 50501- | |
| 2 | 11Y-06-21661 | BRACKET | 50501- | |
| 3 | 01010-81020 | BOLT | 50501- | |
| 4 | 01643-31032 | WASHER | 50501- |

| Item | Part No. | Part Name | Qty | Serial No. |
| 1 | 11Y-06-11650 | BUZZER | 50501- | |
| 2 | 11Y-06-21661 | BRACKET | 50501- | |
| 3 | 01010-81020 | BOLT | 50501- | |
| 4 | 01643-31032 | WASHER | 50501- |