
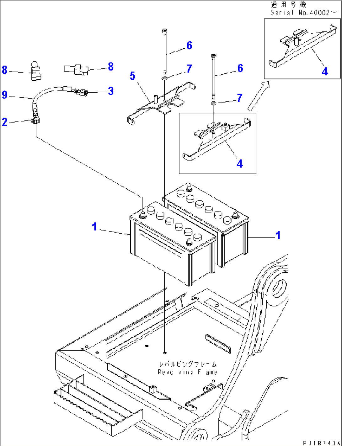
| Item | Part No. | Part Name | Qty | Serial No. |
| 1 | 20Y-06-24840 | BATTERY¤ WET,WET | 40001- | |
| 2 | 08000-00000 | TERMINAL¤ (+),WET | 40001- | |
| 3 | 08000-00001 | TERMINAL¤ (-),WET | 40001- | |
| 4 | 22U-06-21151 | HOLDER | 40002- | |
| \0\22U-06-21121 | HOLDER | 40001-40001 | ||
| 5 | 22U-06-21151 | HOLDER | 40001- | |
| 6 | 22U-06-21130 | BOLT | 40001- | |
| 7 | 01643-31232 | WASHER | 40001- | |
| 8 | 08038-42511 | CAP | 40001- | |
| 9 | 08028-63035 | WIRE | 40001- |
