
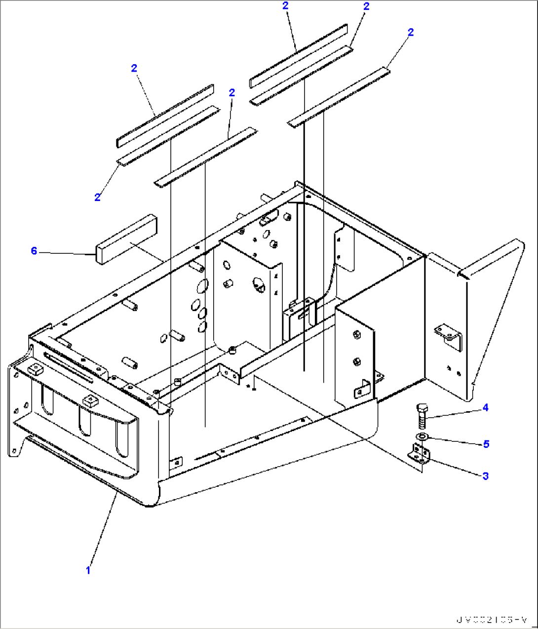
| Item | Part No. | Part Name | Qty | Serial No. |
| 1 | 56B-84-3B560 | Bracket | 5129- | |
| 2 | 08007-13549 | Cushion, Battery | 5129- | |
| 3 | 56B-54-32290 | Bracket | 5129- | |
| 4 | 01010-81025 | Bolt | 5129- | |
| 5 | 01643-31032 | Washer | 5129- | |
| 6 | 56B-54-37830 | Sheet | 5129- |

| Item | Part No. | Part Name | Qty | Serial No. |
| 1 | 56B-84-3B560 | Bracket | 5129- | |
| 2 | 08007-13549 | Cushion, Battery | 5129- | |
| 3 | 56B-54-32290 | Bracket | 5129- | |
| 4 | 01010-81025 | Bolt | 5129- | |
| 5 | 01643-31032 | Washer | 5129- | |
| 6 | 56B-54-37830 | Sheet | 5129- |