
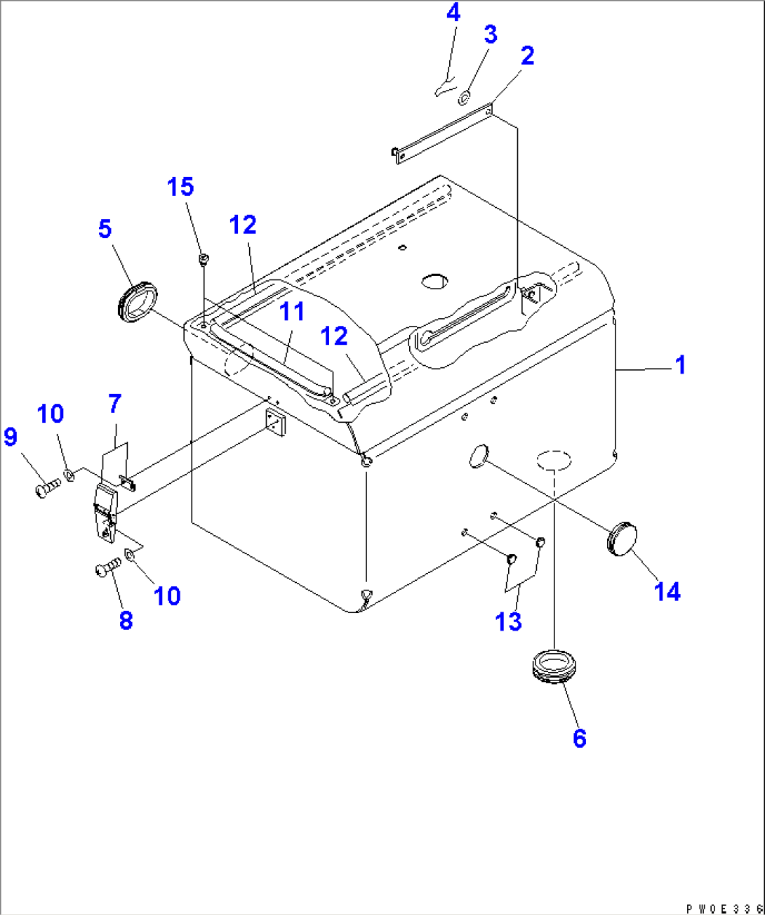
| Item | Part No. | Part Name | Qty | Serial No. |
| 1 | 421-06-32156 | BATTERY BOX | 70001- | |
| 2 | 421-06-34110 | BAR | 70001- | |
| 3 | 01640-20816 | WASHER | 70001- | |
| 4 | 04052-10833 | PIN,SNAP | 70001- | |
| 5 | 426-09-11230 | GROMMET | 70001- | |
| 6 | 09415-05016 | CAP | 70001- | |
| 7 | 421-09-12322 | HOLDER | 70001- | |
| 8 | 01220-40408 | SCREW | 70001- | |
| 9 | 01220-40410 | SCREW | 70001- | |
| 10 | 01641-20405 | WASHER | 70001- | |
| 11 | 22T-54-15631 | SEAL,DOOR | 70001- | |
| 12 | 22T-54-12460 | SEAL,DOOR | 70001- | |
| 13 | 09415-00706 | CAP | 70001- | |
| 14 | 09415-03614 | CAP | 70001- | |
| 15 | 415-54-11980 | CUSHION | 70001- |
