
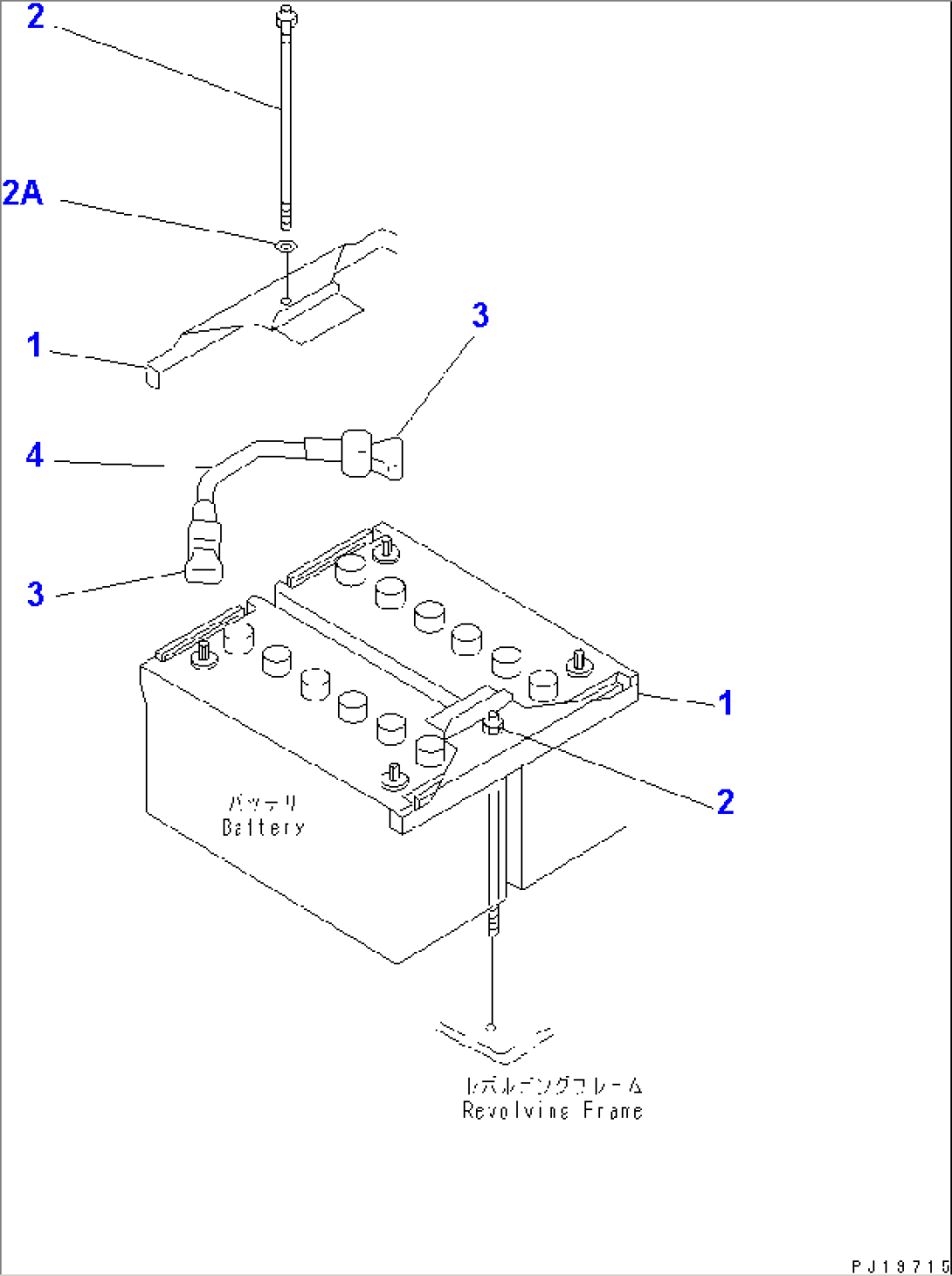
| Item | Part No. | Part Name | Qty | Serial No. |
| 1 | 205-06-71174 | HOLDER | 109573- | |
| 1 | 205-06-71173 | HOLDER | 80001-109572 | |
| 2 | 205-06-71180 | BOLT | 80001- | |
| 2A | 01643-31232 | WASHER | 109573- | |
| 3 | 08038-42511 | CAP | 106778- | |
| 3 | 08038-22511 | CAP | 80001-106777 | |
| 4 | 08028-63030 | CABLE, BATTERY | 106778- | |
| 4 | 08028-43030 | CABLE, GROUND | 80001-106777 |
