
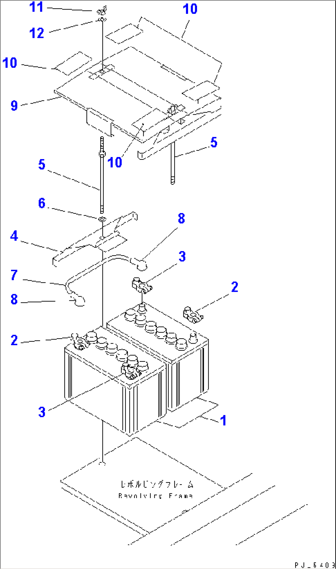
| Item | Part No. | Part Name | Qty | Serial No. |
| 1 | \6\ | BATTERY (95D31R),WET | 57000- | |
| 2 | 08000-00000 | TERMINAL¤ (+) | 45001- | |
| 3 | 08000-00001 | TERMINAL¤ (-) | 45001- | |
| 4 | 205-06-71174 | HOLDER | 64753- | |
| 5 | 203-06-51132 | BOLT | 63892- | |
| \0\203-06-51131 | BOLT | 45001-63891 | ||
| 6 | 01643-31032 | WASHER | 45001- | |
| 7 | 08028-68035 | CABLE | 63415- | |
| 8 | 08038-42009 | CAP | 63415- | |
| 9 | 203-06-56112 | COVER | 64753- | |
| 10 | 22U-54-15190 | SHEET | 64753- | |
| 11 | 203-06-51170 | NUT | 45001- | |
| 12 | 01643-31032 | WASHER | 45001- |
