
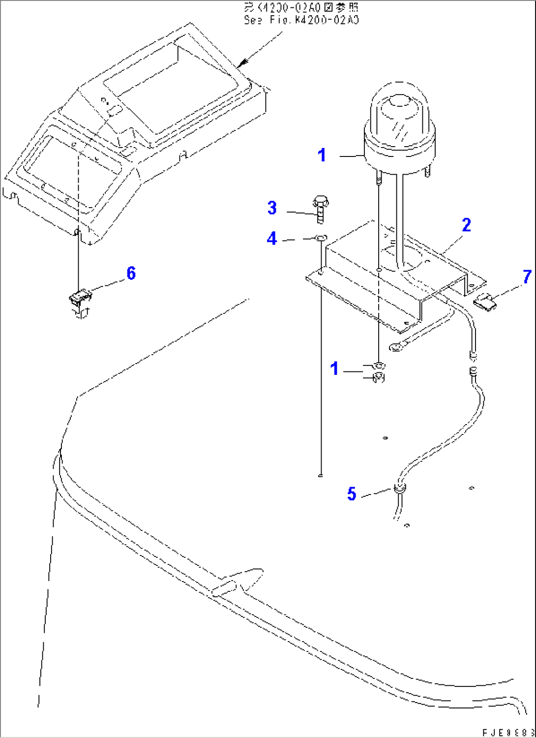
| Item | Part No. | Part Name | Qty | Serial No. |
| 1 | 08154-72400 | LAMP ASS'Y,BEACON | 53001- | |
| 1 | 08154-72455 | BULB, 55W | 53001- | |
| 1 | 08154-70003 | GLOBE | 53001- | |
| 2 | 416-957-2110 | PLATE | 53001- | |
| 3 | 01435-00825 | BOLT | 53001- | |
| 4 | 154-61-16570 | WASHER | 53001- | |
| 5 | 423-975-1140 | CAP | 53001- | |
| 6 | 423-958-2110 | SWITCH,BEACON | 53001- | |
| 7 | 421-54-15520 | CLIP | 53001- |
