
| Item | Part No. | Part Name | Qty | Serial No. |
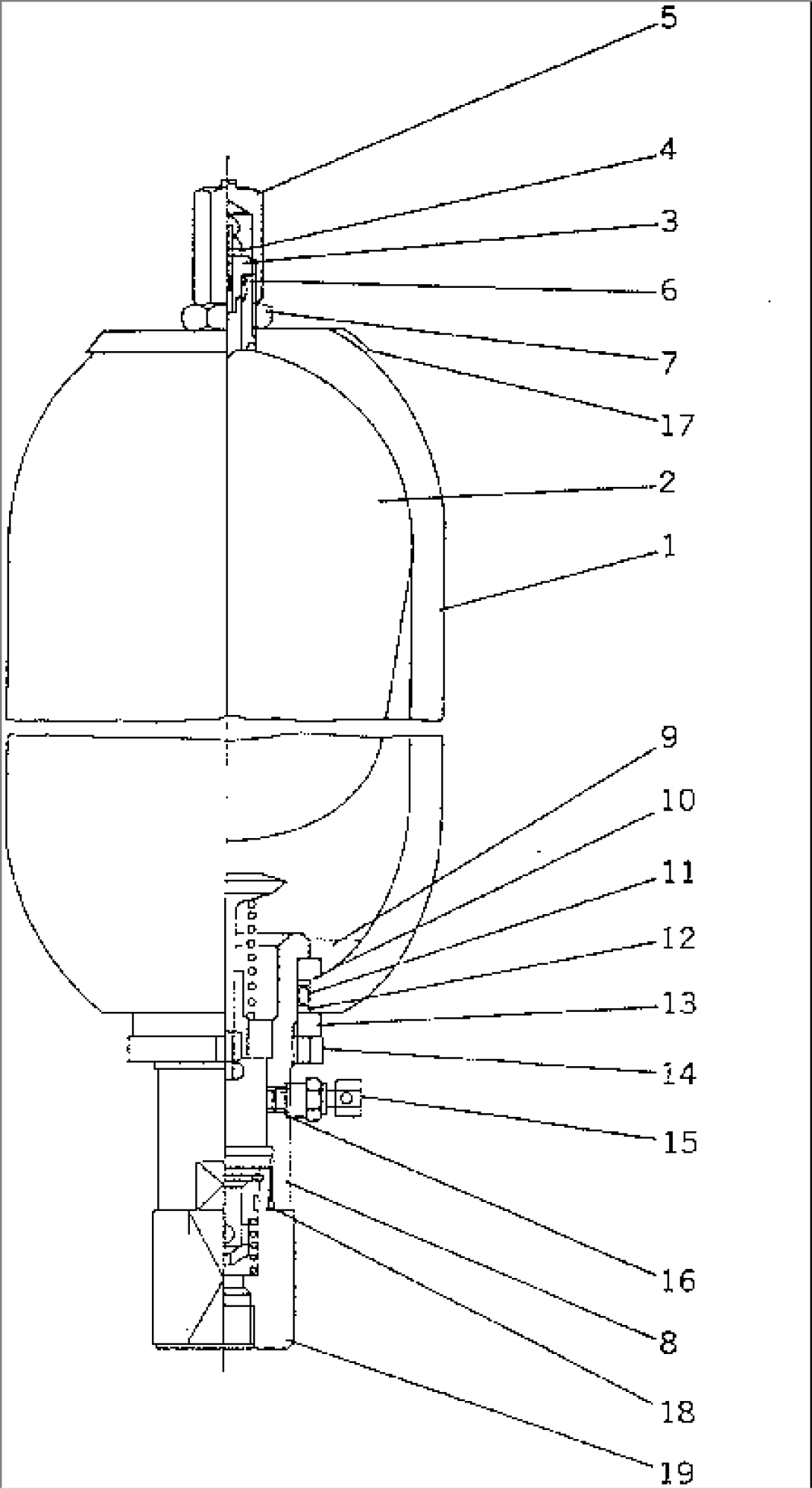
| 235-833-1200 | ACCUMULATOR | .- | ||
| 1 | 235-833-1210 | SHELL | 50001- | |
| 2 | 235-833-1221 | BLADDER | .- | |
| 3 | 235-833-1410 | BODY,VALVE | .- | |
| 4 | 235-833-1420 | CORE | .- | |
| 5 | 235-833-1430 | CAP | .- | |
| 6 | 235-833-1440 | O-RING | 50001- | |
| 7 | 235-833-1240 | NUT | 50001- | |
| 8 | 235-833-1260 | BODY ASS'Y | 50001- | |
| 9 | 235-833-1271 | RING | .- | |
| 10 | 235-833-1280 | WASHER | 50001- | |
| 11 | 235-833-1290 | O-RING | 50001- | |
| 12 | 235-833-1310 | RING,BACK-UP | 50001- | |
| 13 | 235-833-1320 | RING,SPACER | 50001- | |
| 14 | 235-833-1330 | NUT,LOCK | 50001- | |
| 15 | 235-833-1340 | PLUG | 50001- | |
| 16 | 235-833-1350 | GASKET | 50001- | |
| 17 | 235-833-1360 | PLATE, NAME | 50001- | |
| 18 | 235-833-1370 | O-RING | 50001- | |
| 19 | 235-833-1380 | VALVE ASS'Y,SLOW RETURN | 50001- |
