
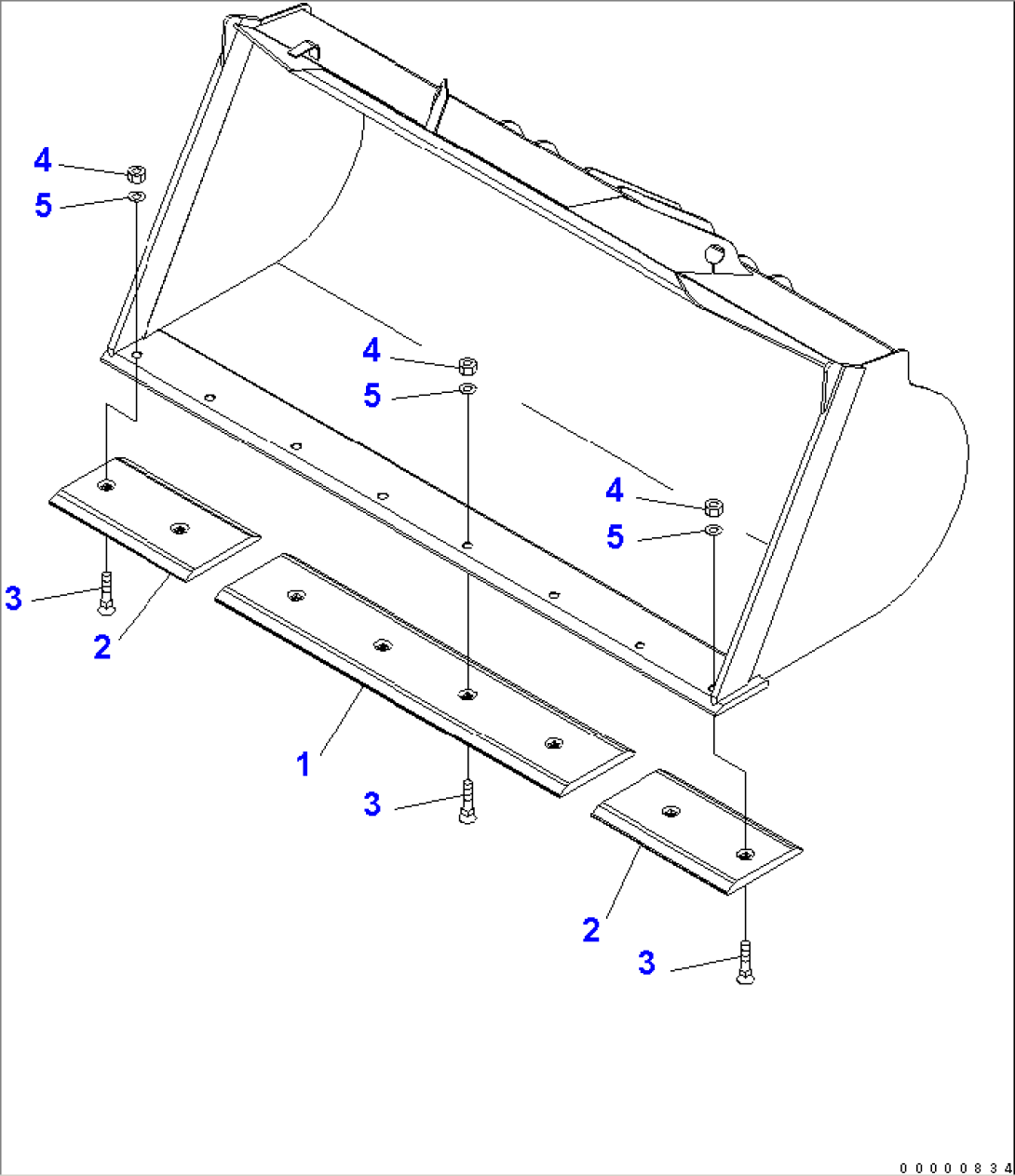
| Item | Part No. | Part Name | Qty | Serial No. |
| 418-815-A210 | CUTTING EDGE | A79001- | ||
| 1 | 418-815-1211 | EDGE | A79001- | |
| 2 | 418-815-1221 | EDGE | A79001- | |
| 3 | 02090-11685 | BOLT | A79001- | |
| 4 | 02290-11625 | NUT | A79001- | |
| 5 | 01643-32460 | WASHER | A79001- |

| Item | Part No. | Part Name | Qty | Serial No. |
| 418-815-A210 | CUTTING EDGE | A79001- | ||
| 1 | 418-815-1211 | EDGE | A79001- | |
| 2 | 418-815-1221 | EDGE | A79001- | |
| 3 | 02090-11685 | BOLT | A79001- | |
| 4 | 02290-11625 | NUT | A79001- | |
| 5 | 01643-32460 | WASHER | A79001- |