
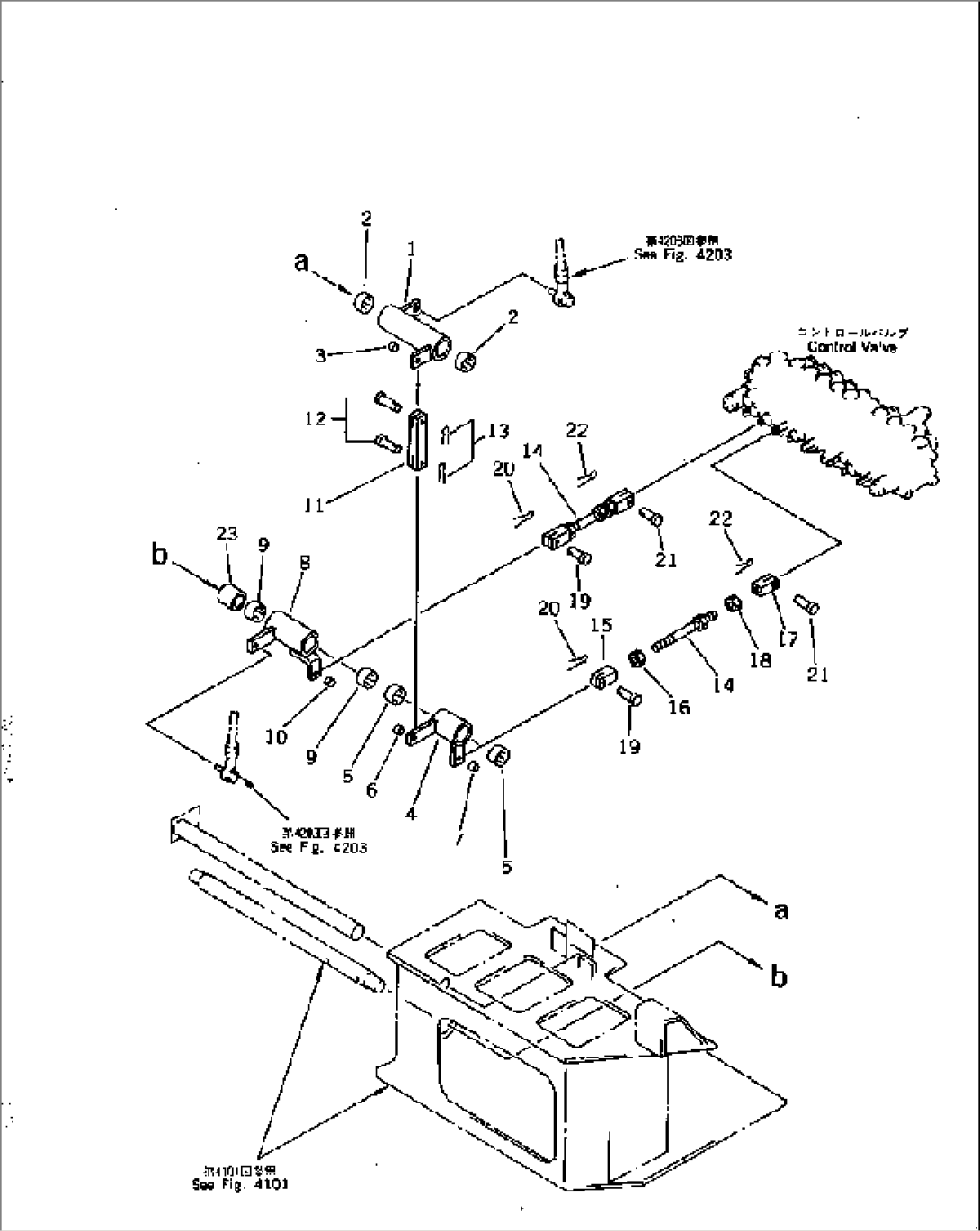
| Item | Part No. | Part Name | Qty | Serial No. |
| 1 | 20C-43-11520 | LEVER | 1001- | |
| 2 | 195-61-34140 | BEARING | 1001- | |
| 3 | 06600-00805 | BUSHING | 1001- | |
| 4 | 20C-43-11540 | LEVER | 1001- | |
| 5 | 195-61-34140 | BEARING | 1001- | |
| 6 | 06600-00805 | BUSHING | 1001- | |
| 7 | 06600-00805 | BUSHING | 1001- | |
| 8 | 20C-43-11531 | LEVER | 1001- | |
| 9 | 195-61-34140 | BEARING | 1001- | |
| 10 | 06600-00805 | BUSHING | 1001- | |
| 11 | 20N-43-42591 | YOKE | 1001- | |
| 12 | 04205-10822 | PIN | 1001- | |
| 13 | 04050-12015 | PIN,COTTER | 1001- | |
| 14 | 04248-30814 | ROD | 1001- | |
| 15 | 04221-20844 | YOKE | 1001- | |
| 16 | 01508-20805 | NUT,L.H. THREAD | 1001- | |
| 17 | 20C-43-11320 | YOKE,L.H. THREAD | 1001- | |
| 18 | 01508-10806 | NUT¤ L.H. THREAD,L.H. THREAD | 1001- | |
| 19 | 04205-10822 | PIN | 1001- | |
| 20 | 04050-11208 | PIN,COTTER | 1001- | |
| 21 | 04205-10520 | PIN | 1001- | |
| 22 | 04050-12015 | PIN,COTTER | 1001- | |
| 23 | 20C-43-11550 | COLLAR | 1001- |
