Ваш браузер устарел. Этот сайт может работать неполноценно или выглядеть сломанным. Обновите ваш браузер, если можете.

Поиск по каталогу

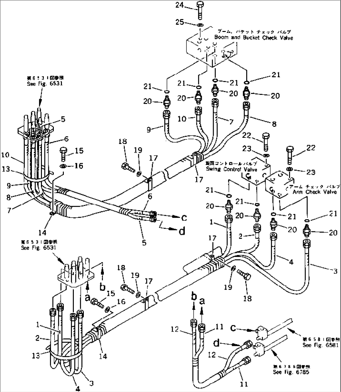
BRACKET TO/FROM CHECK VALVE PIPING (FOR LOADER) (FOR HIGH CAB)

BRACKET TO/FROM CHECK VALVE PIPING (FOR LOADER) (FOR HIGH CAB)
ItemPart No.Part NameQtySerial No.
G-1(\8\21N-54-X2000)HIGH CAB GROUP10001-
====================
21N-62-17161HOSE ASS'Y10001-
107102-20340HOSE,(YELLOW)10001-
207102-20340HOSE,(WHITE)10001-
307102-20340HOSE,(GREEN)10001-
407102-20340HOSE,(BLACK)10001-
21N-62-17760HOSE ASS'Y10001-
507102-20314HOSE,(RED)10001-
607102-20315HOSE,(BLUE)10001-
21N-62-17181HOSE ASS'Y10001-
707102-20338HOSE,(YELLOW)10001-
807102-20338HOSE,(WHITE)10001-
907102-20338HOSE,(BLACK)10001-
1007102-20338HOSE,(GREEN)10001-
21N-62-17750HOSE ASS'Y10001-
1107102-20315HOSE,(RED)10001-
1207102-20315HOSE,(BLUE)10001-
1308034-00536BAND10001-
1421K-03-11190CLIP10001-
1501010-51225BOLT10001-
1601643-31232WASHER10001-
1721T-06-11950CLIP10001-
1801010-51220BOLT10001-
1901643-31232WASHER10001-
====================
20209-62-57740UNION10001-
2107002-02034O-RING10001-
2201010-51075BOLT10001-
2301643-31032WASHER10001-
2401010-51085BOLT10001-
2501643-31032WASHER10001-
Вернуться в каталог

Заявка

Обратная связь