
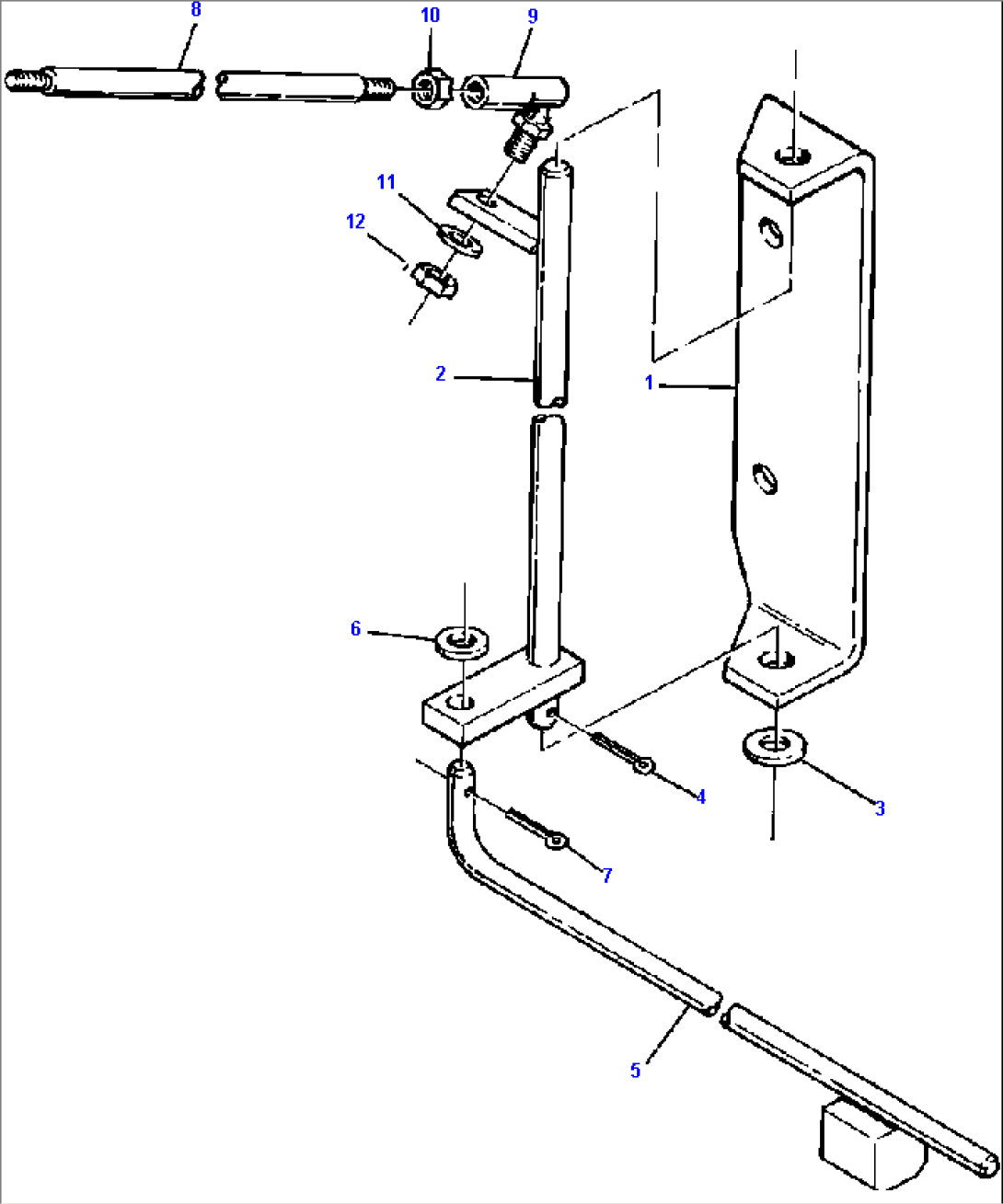
| Item | Part No. | Part Name | Qty | Serial No. |
| (743 944 C91) | SUPPORT ASSEMBLY, BRAKE LOCK | |||
| 1 | 740 484 C1 | SUPPORT, BRAKE LOCK | ||
| 2 | 740 480 C1 | BELLCRANK, BRAKE LOCK | ||
| 3 | 25 536 R1 | WASHER, FLAT - 1/2 | ||
| 4 | 30 259 R1 | PIN, COTTER | ||
| 5 | 729 308 C1 | ROD, BRAKE LOCK | ||
| 6 | 25 534 R1 | WASHER, FLAT - 3/8 | ||
| 7 | 30 259 R1 | PIN, COTTER | ||
| 8 | 740 485 C1 | ROD, BRAKE LOCK | ||
| 9 | 281 800 C92 | JOINT, BALL | ||
| 10 | 26 030 R1 | NUT, HEX - 1/2NF | ||
| 11 | 120 380 | WASHER, LOCK - 1/2 | ||
| 12 | 26 030 R1 | NUT, HEX - 1/2NF | ||
| F1 - PART NUMBER IS A NON-SERVICE PART AND IS LISTED FOR REFERENCE | ||||
| ONLY. ORDER INDIVIDUAL PIECE PARTS. |
