
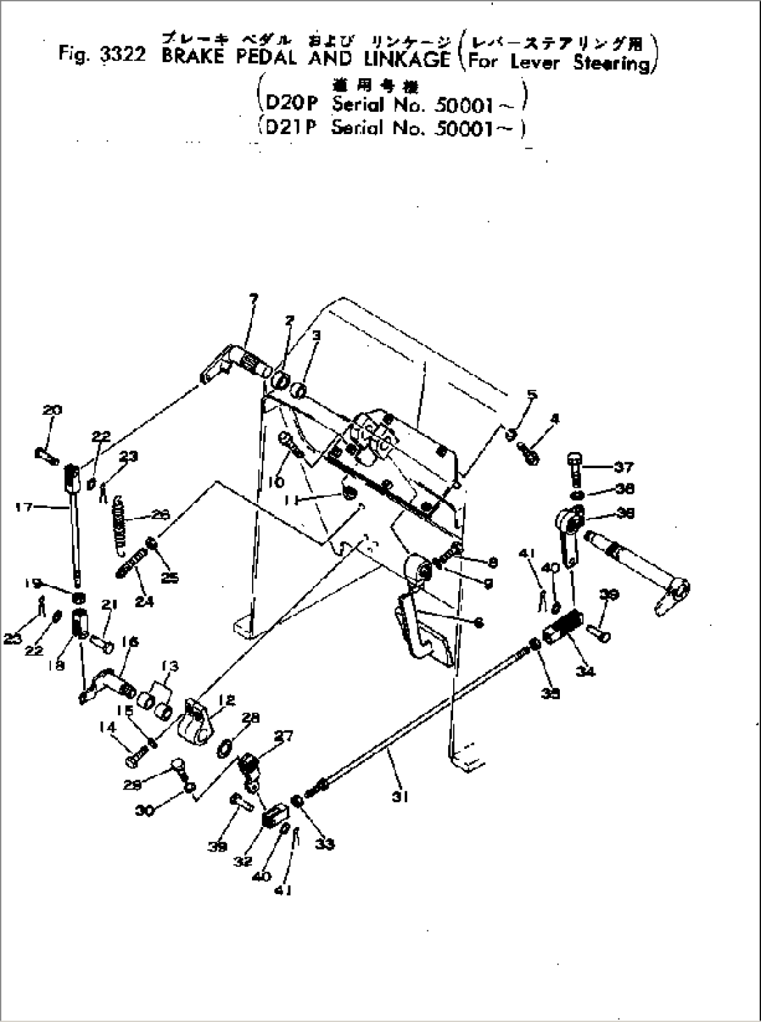
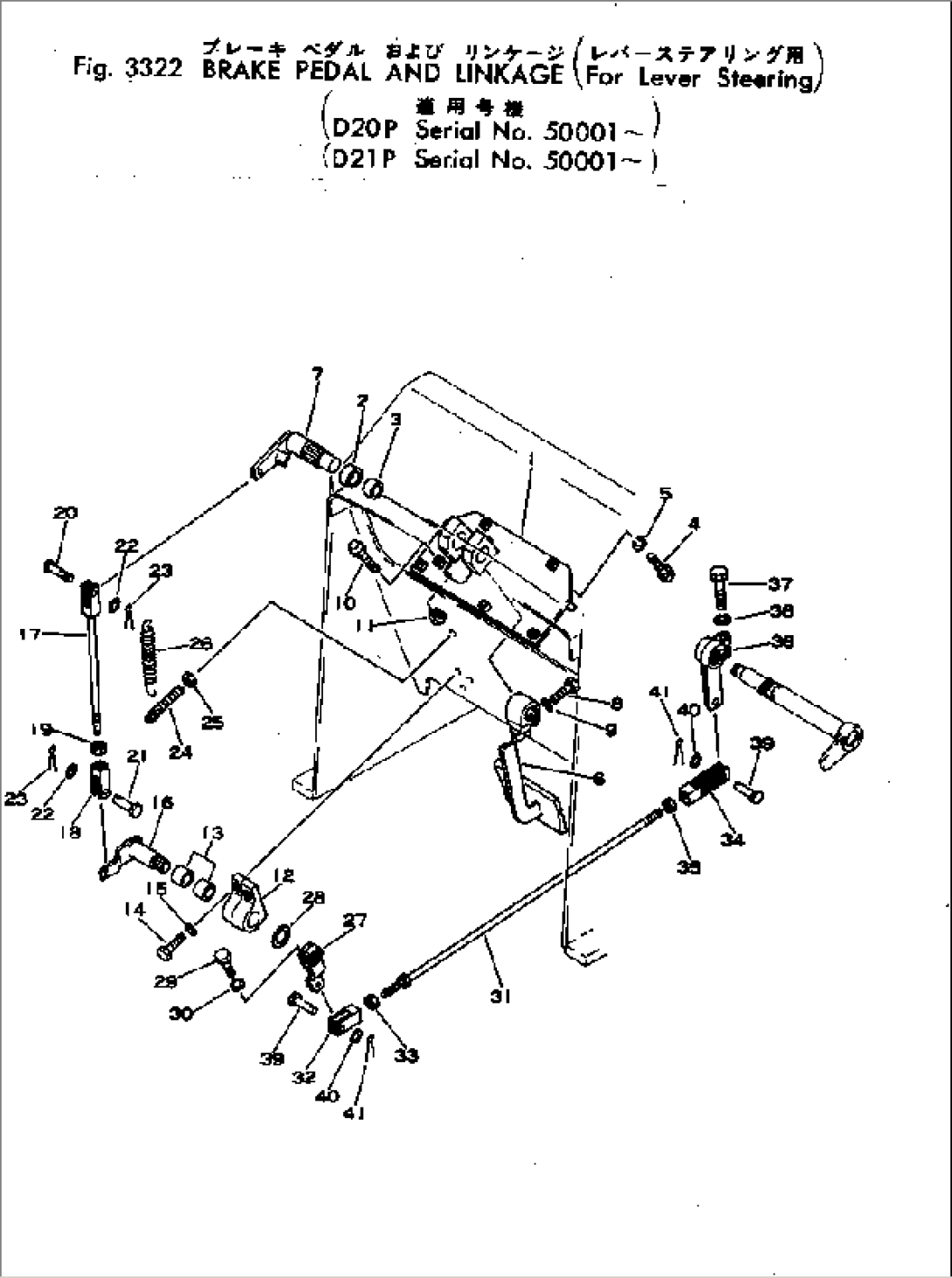
Item | Part No. | Part Name | Qty | Serial No. |
102-43-00010 | BRACKET ASS'Y | 50001- | ||
1 | \6\ | BRACKET | 50001- | |
2 | 09350-03020 | BUSHING | 50001- | |
3 | 09350-02520 | BUSHING | 50001- | |
4 | 01010-31030 | BOLT | 45003- | |
5 | 01602-01030 | WASHER,SPRING | 45003- | |
6 | 102-43-48120 | PEDAL | 50001- | |
7 | 102-43-48161 | LEVER | 54381- | |
7 | \0\102-43-48160 | LEVER | 50001-54380 | |
8 | 01010-31030 | BOLT | 50001- | |
9 | 01602-01030 | WASHER,SPRING | 50001- | |
10 | 113-43-21340 | BUMPER | 50001- | |
11 | 01580-01008 | NUT | 50001- | |
103-43-00020 | BRACKET ASS'Y | 50001- | ||
12 | \6\ | BRACKET | 50001- | |
13 | 09350-02520 | BUSHING | 50001- | |
14 | 01010-31020 | BOLT | 50001- | |
15 | 01602-01030 | WASHER,SPRING | 50001- | |
16 | 102-43-48131 | LEVER | 54381- | |
16 | \0\102-43-48130 | LEVER | 50001-54380 | |
17 | 04244-41030 | ROD | 50001- | |
18 | 04210-21040 | YOKE | 50001- | |
19 | 01582-01008 | NUT | 50001- | |
20 | 103-43-21170 | PIN | 50001- | |
21 | 04205-11030 | PIN | 50001- | |
22 | 01641-21016 | WASHER | 50001- | |
23 | 04050-03015 | PIN,COTTER | 50001- | |
24 | 103-43-21260 | BOLT | 50001- | |
25 | 01580-01008 | NUT | 50001- | |
26 | 113-890-6170 | SPRING | 50001- | |
27 | 102-43-48140 | LEVER | 50001- | |
28 | 01640-22032 | WASHER | 50001- | |
29 | 01010-30830 | BOLT | 50001- | |
30 | 01602-00825 | WASHER,SPRING | 50001- | |
31 | 102-43-48150 | ROD | 50001- | |
32 | 04210-21040 | YOKE | 50001- | |
33 | 01582-01008 | NUT | 50001- | |
34 | 113-43-21280 | YOKE,L.H. THREAD | 50001- | |
35 | 01508-11006 | NUT,L.H. THREAD | 50001- | |
36 | 102-43-48220 | LEVER | 50001- | |
37 | 01010-31245 | BOLT | 50001- | |
38 | 01602-01236 | WASHER,SPRING | 50001- | |
39 | 04205-11030 | PIN | 50001- | |
40 | 01641-21016 | WASHER | 50001- | |
41 | 04050-03015 | PIN,COTTER | 50001- |