
| Item | Part No. | Part Name | Qty | Serial No. |
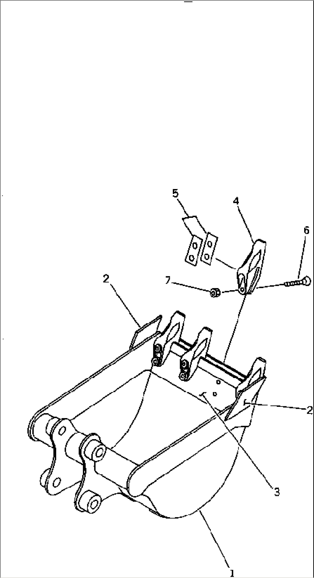
| 20U-70-00701 | BUCKET ASS'Y | 1996-3400 | ||
| \0\20U-70-00700 | BUCKET ASS'Y | 1001-1995 | ||
| 1 | 20U-70-13112 | BUCKET,(619MM) | 1996-3400 | |
| 1 | 20U-70-13111 | BUCKET | 1001-1995 | |
| 2 | 20U-70-13130 | PLATE (WELDED) | 1996-3400 | |
| 2 | 20T-70-31320 | PLATE (WELDED) | 1001-1995 | |
| 3 | 20U-70-13120 | LIP (WELDED) | 1001-3400 | |
| G-1 | (\8\20T-70-X4200) | TOOTH GROUP | 1001-3400 | |
| ==================== | ||||
| 4 | 20T-70-13130 | TOOTH | 1001-3400 | |
| 5 | 20T-70-05010 | SHIM ASS'Y | 1001-3400 | |
| 5 | \6\ | SHIM, 0.5MM | 1001-3400 | |
| 5 | \6\ | SHIM, 1.0MM | 1001-3400 | |
| 6 | 02090-11060 | BOLT | 1001-3400 | |
| 7 | 02205-11015 | NUT | 1001-3400 | |
| ==================== |
