
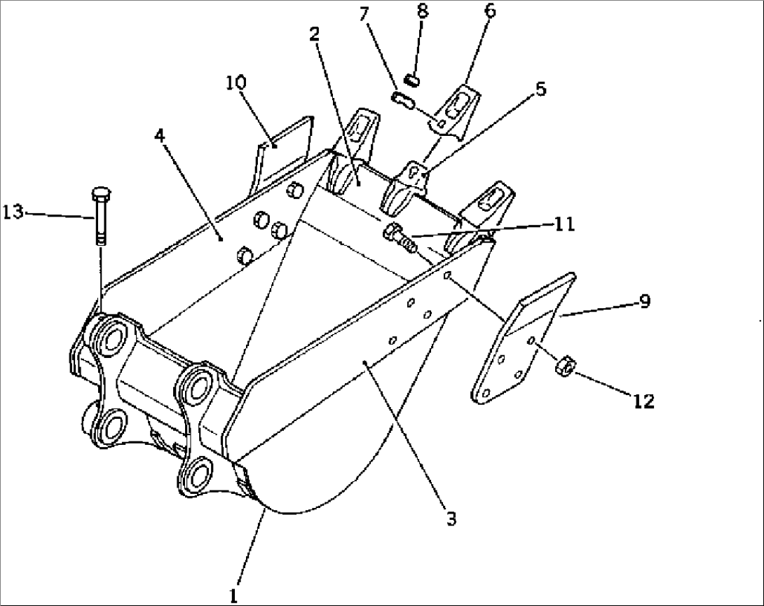
| Item | Part No. | Part Name | Qty | Serial No. |
| 1 | \3\206-926-5210 | BUCKET | 20001-20664 | |
| (206-926-5211{362-46-11210)} | ||||
| 2 | 206-926-5220 | PLATE (WELDED) | 20001-@ | |
| 3 | 206-70-54141 | PLATE (WELDED) | 20001-@ | |
| 4 | 206-70-54151 | PLATE (WELDED) | 20001-@ | |
| 5 | 206-70-54121 | ADAPTER (WELDED) | 20001-@ | |
| 6 | 207-70-34211 | TOOTH | 20001-@ | |
| 7 | 207-70-34220 | PIN | 20001-@ | |
| 8 | 205-70-74290 | LOCK | 20001-@ | |
| 9 | 205-70-74180 | CUTTER,L.H. | 20001-@ | |
| 10 | 205-70-74190 | CUTTER,R.H. | 20001-@ | |
| 11 | 176-32-11210 | BOLT¤ SHOE | 20001-@ | |
| 12 | 01803-02430 | NUT | 20001-@ | |
| 13 | 205-70-73190 | BOLT | 20001-20664 |
