
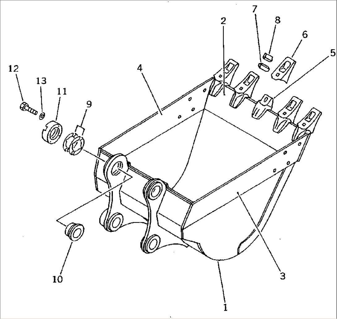
Item | Part No. | Part Name | Qty | Serial No. |
G-1 | (\8\20Y-70-X4101) | BUCKET GROUP | 45001-69157 | |
==================== | ||||
1 | 20Y-70-24111 | BUCKET | 45001-@ | |
\0\20Y-70-14111 | BUCKET | 45001-69157 | ||
2 | 20Y-70-14121 | PLATE (WELDED) | 57437-@ | |
20Y-70-14120 | PLATE (WELDED) | 45001-57436 | ||
3 | 20Y-70-14131 | PLATE (WELDED) | 45001-69157 | |
4 | 20Y-70-14141 | PLATE (WELDED) | 45001-69157 | |
5 | 20Y-70-14180 | ADAPTER (WELDED) | 45001-69157 | |
6 | 205-70-74272 | TOOTH | 45001-@ | |
7 | 205-70-74281 | PIN | 45001-@ | |
8 | 205-70-74291 | LOCK | 45001-@ | |
9 | 205-70-00100 | SHIM ASS'Y | 45001-@ | |
\6\ | SHIM¤ 0.5MM | 45001-@ | ||
\6\ | SHIM¤ 1.0MM | 45001-@ | ||
10 | 205-70-74381 | SPACER | 45001-@ | |
11 | 205-70-74391 | PLATE | 45001-@ | |
12 | 01010-32055 | BOLT | 53472-@ | |
01010-52055 | BOLT | 45001-53471 | ||
13 | 01643-32060 | WASHER | 45001-@ | |
==================== |