
| Item | Part No. | Part Name | Qty | Serial No. |
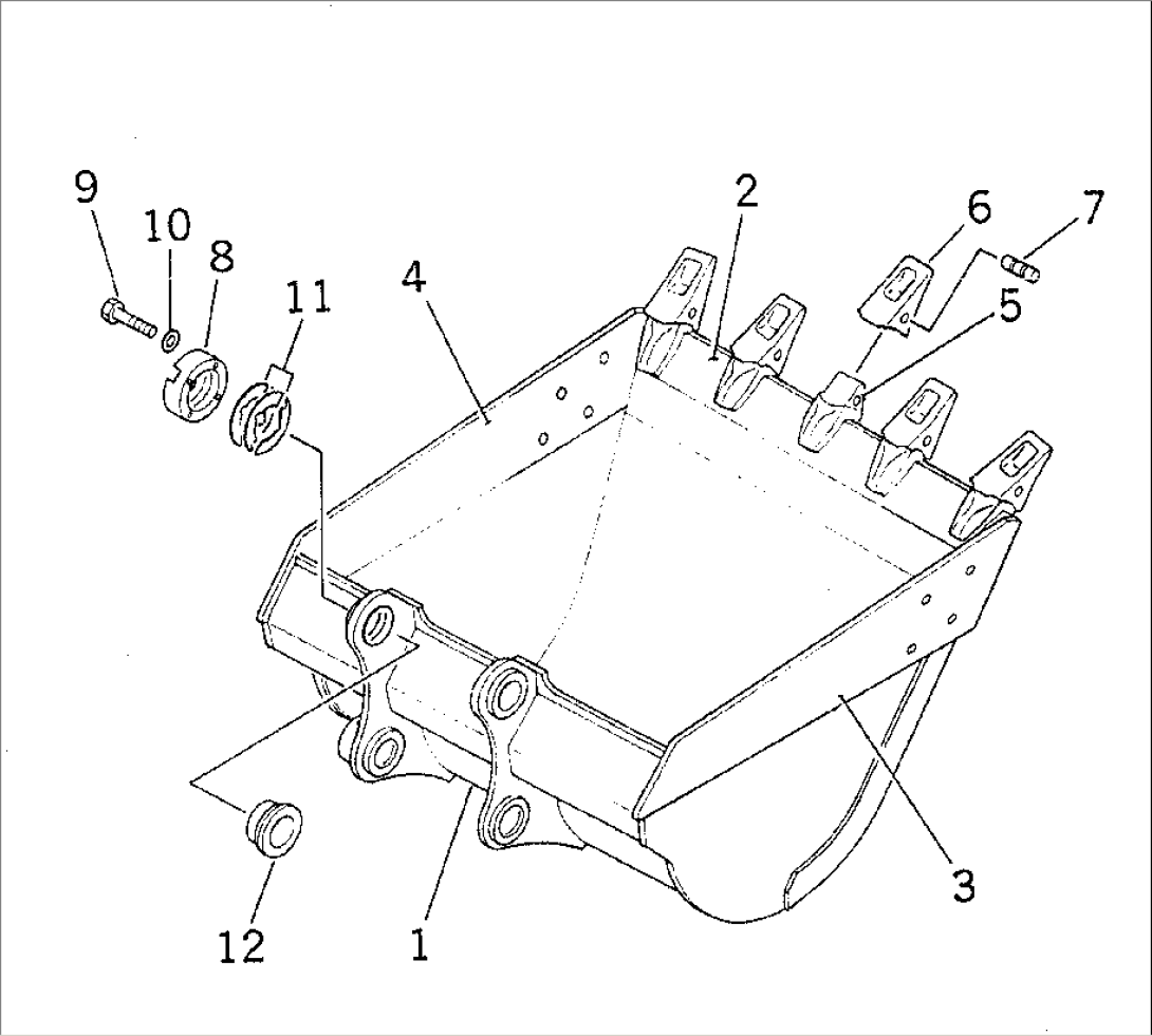
| 1 | 20Y-70-24512 | BUCKET | 110593- | |
| \0\20Y-70-24511 | BUCKET | 96514-110592 | ||
| 2 | 20Y-70-14122 | PLATE (WELDED) | 96514- | |
| 3 | 20Y-70-34121 | PLATE,L.H. (WELDED) | 110593- | |
| 20Y-70-24132 | PLATE (WELDED) | 106252-110592 | ||
| 20Y-70-24131 | PLATE (WELDED) | 96514-106251 | ||
| 4 | 20Y-70-34131 | PLATE,R.H. (WELDED) | 110593- | |
| 20Y-70-24142 | PLATE (WELDED) | 106252-110592 | ||
| 20Y-70-24141 | PLATE (WELDED) | 96514-106251 | ||
| 5 | 20Y-70-14520 | ADAPTER (WELDED) | 80001- | |
| 6 | 205-70-19570 | TOOTH | 80001- | |
| 7 | 09244-02496 | PIN | 80001- | |
| 8 | 205-70-74391 | PLATE | 80001- | |
| 9 | 01010-62055 | BOLT | 94999- | |
| 10 | 01643-32060 | WASHER | 80001- | |
| 11 | 205-70-00100 | SHIM ASS'Y | 80001- | |
| \6\ | SHIM¤ 1.0MM | 80001- | ||
| \6\ | SHIM¤ 0.5MM | 80001- | ||
| 12 | 205-70-74381 | SPACER | 80001- |
