
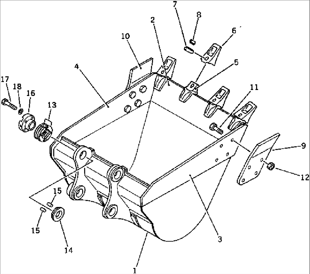
| Item | Part No. | Part Name | Qty | Serial No. |
| 1 | 206-70-54111 | BUCKET | 20001-@ | |
| 2 | 206-70-54160 | PLATE (WELDED) | 20001-@ | |
| 3 | 206-70-54141 | PLATE (WELDED) | 20001-@ | |
| 4 | 206-70-54151 | PLATE (WELDED) | 20001-@ | |
| 5 | 206-70-54121 | ADAPTER (WELDED) | 20001-@ | |
| 6 | 207-70-34211 | TOOTH | 20001-@ | |
| 7 | 207-70-34220 | PIN | 20001-@ | |
| 8 | 205-70-74290 | LOCK | 20001-@ | |
| 9 | 205-70-74180 | CUTTER,L.H. | 20001-@ | |
| 10 | 205-70-74190 | CUTTER,R.H. | 20001-@ | |
| 11 | 176-32-11210 | BOLT¤ SHOE | 20001-@ | |
| 12 | 01803-02430 | NUT | 20001-@ | |
| 13 | 205-70-00100 | SHIM ASS'Y | 20001-@ | |
| \6\ | SHIM¤ 0.5MM | 20001-@ | ||
| \6\ | SHIM¤ 1.0MM | 20001-@ | ||
| 14 | \3\205-70-74380 | SPACER | 20001-20488 | |
| (205-70-74381{205-70-74391)} | ||||
| 15 | 04020-00514 | PIN,DOWEL | 20001-20488 | |
| 16 | \3\205-70-74390 | BUSHING | 20001-20488 | |
| (205-70-74391{205-70-74381)} | ||||
| 17 | 01010-52055 | BOLT | 20001-@ | |
| 18 | 01643-32060 | WASHER | 20001-@ |
