
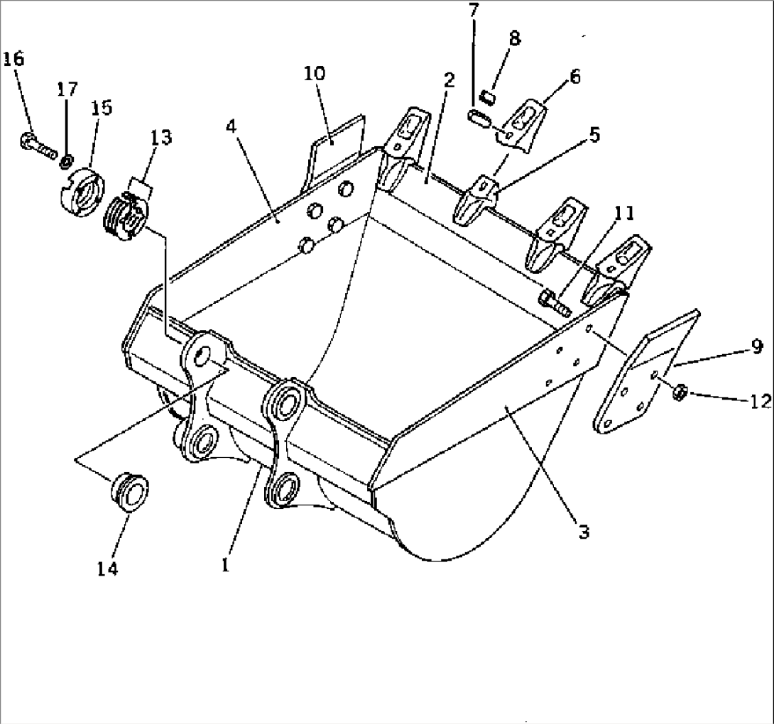
| Item | Part No. | Part Name | Qty | Serial No. |
| 1 | 206-70-54112 | BUCKET | 20700-23163 | |
| \0\206-70-54111 | BUCKET | 20001-20699 | ||
| 2 | 206-70-54160 | PLATE (WELDED) | 20001-23163 | |
| 3 | 206-70-54141 | PLATE (WELDED) | 20001-23163 | |
| 4 | 206-70-54151 | PLATE (WELDED) | 20001-23163 | |
| 5 | 206-70-54121 | ADAPTER (WELDED) | 20001-23163 | |
| 6 | 206-70-54221 | TOOTH | 21570-@ | |
| \0\206-70-54220 | TOOTH | 21191-21569 | ||
| \0\207-70-34211 | TOOTH | 20001-21190 | ||
| 7 | 207-70-34221 | PIN | 20958-@ | |
| \0\207-70-34220 | PIN | 20001-20957 | ||
| 8 | 205-70-74291 | LOCK | 21992-@ | |
| \0\205-70-74290 | LOCK | 20001-21991 | ||
| 9 | 205-70-74180 | CUTTER,L.H. | 20001-@ | |
| 10 | 205-70-74190 | CUTTER,R.H. | 20001-@ | |
| 11 | 176-32-11210 | BOLT¤ SHOE | 20001-@ | |
| 12 | 01803-02430 | NUT | 20001-@ | |
| 13 | 205-70-00101 | SHIM ASS'Y | 20523-23163 | |
| 205-70-00100 | SHIM ASS'Y | 20001-20522 | ||
| \6\ | SHIM¤ 0.5MM | 20001-@ | ||
| \6\ | SHIM¤ 1.0MM | 20523-23163 | ||
| \6\ | SHIM¤ 1.0MM | 20001-20522 | ||
| 14 | 205-70-74381 | SPACER | 20489-@ | |
| 15 | 205-70-74391 | PLATE | 20489-@ | |
| 16 | 01010-52055 | BOLT | 20001-@ | |
| 17 | 01643-32060 | WASHER | 20001-@ |
