
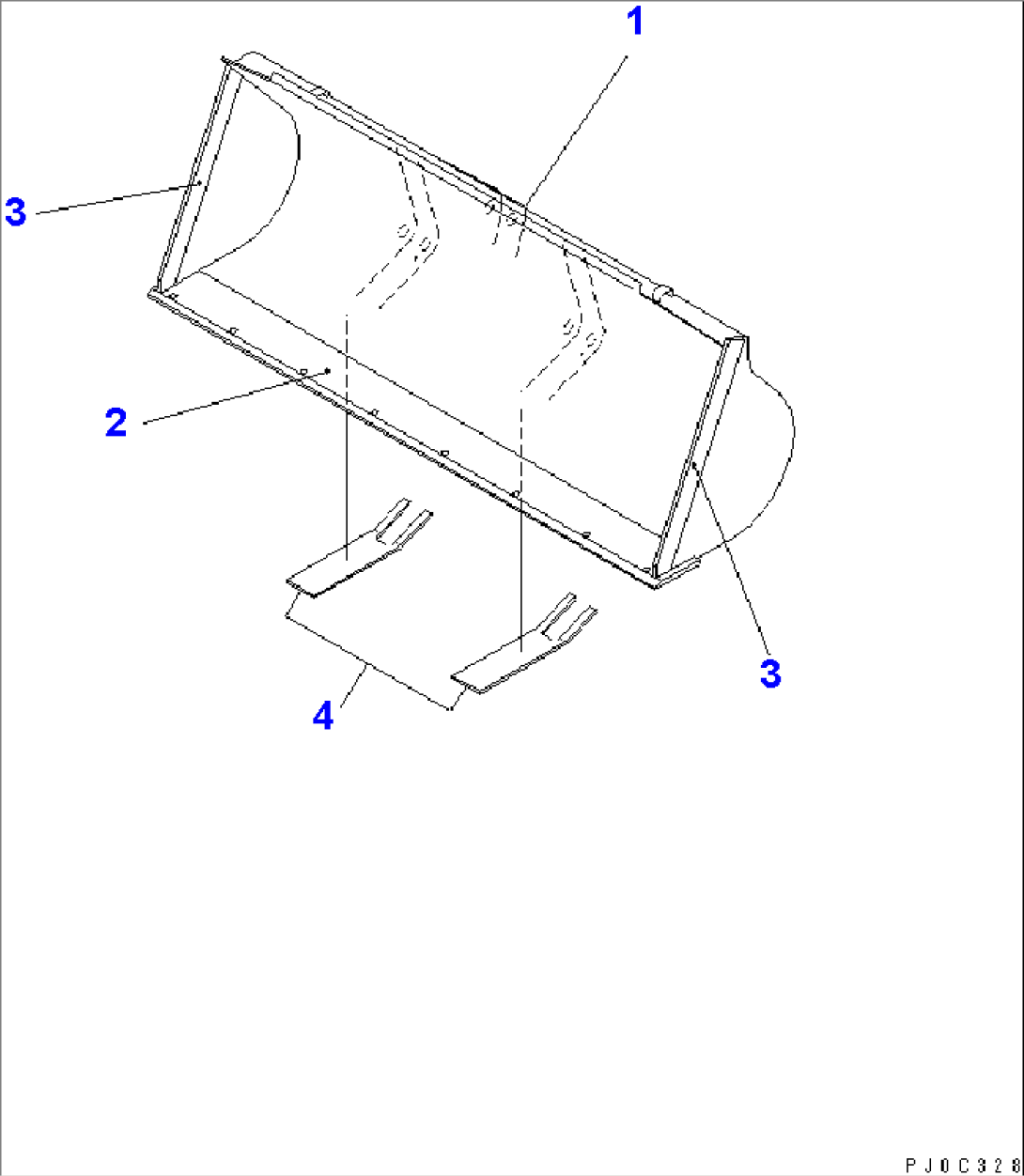
| Item | Part No. | Part Name | Qty | Serial No. |
| 1 | 415-N10-2110 | BUCKET | 10001- | |
| 2 | 415-N10-2120 | EDGE (WELDED) | 10001- | |
| 3 | 415-70-22830 | PLATE (WELDED) | 10001- | |
| 4 | 415-70-22K20 | PLATE (WELDED) | 10001- |

| Item | Part No. | Part Name | Qty | Serial No. |
| 1 | 415-N10-2110 | BUCKET | 10001- | |
| 2 | 415-N10-2120 | EDGE (WELDED) | 10001- | |
| 3 | 415-70-22830 | PLATE (WELDED) | 10001- | |
| 4 | 415-70-22K20 | PLATE (WELDED) | 10001- |