
| Item | Part No. | Part Name | Qty | Serial No. |
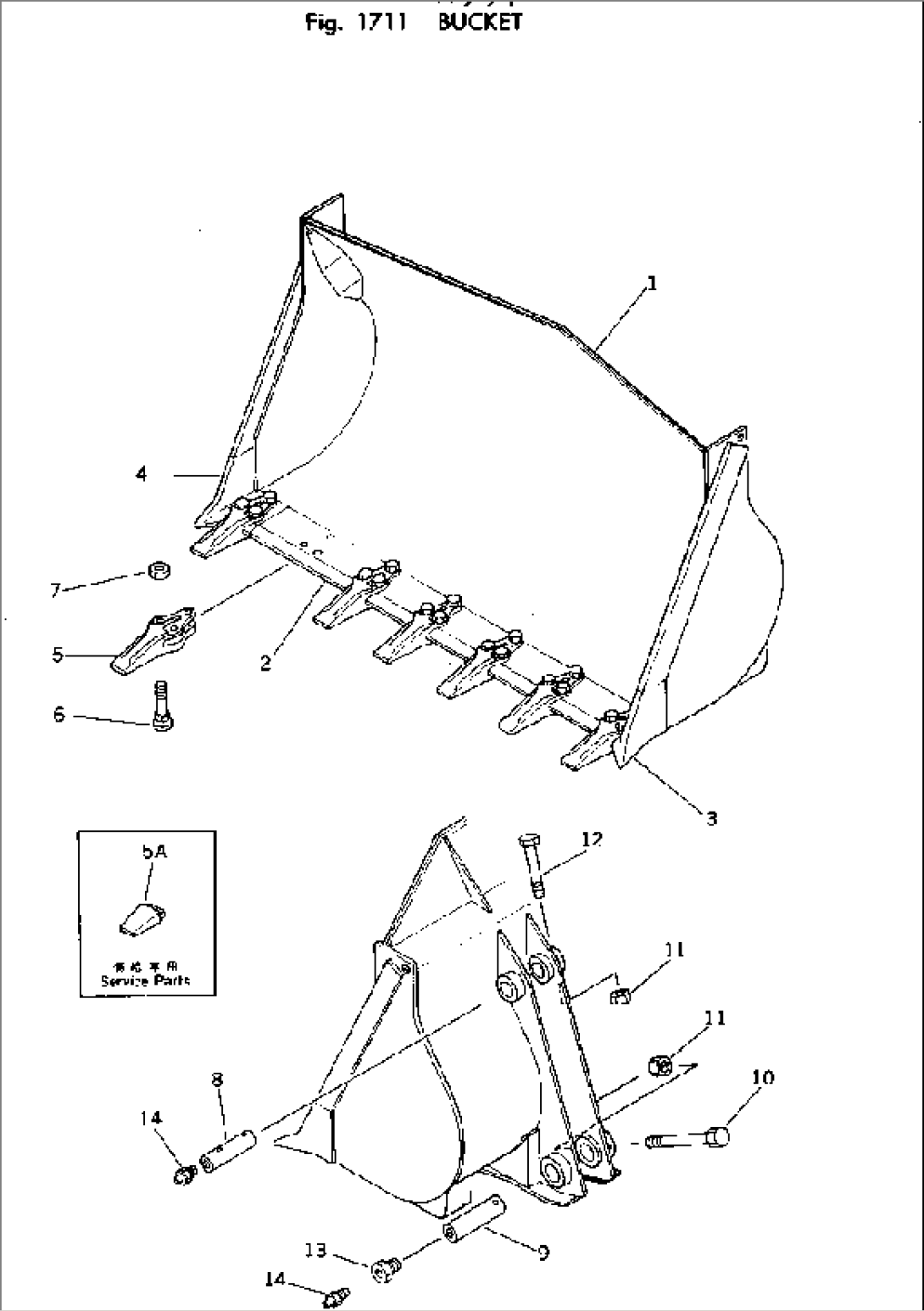
| 1 | 145-70-43111 | BUCKET ASS'Y | 7379- | |
| 1 | 145-70-43110 | BUCKET ASS'Y | 7377-7378 | |
| 1 | 145-70-43111 | BUCKET ASS'Y | 7375-7376 | |
| 1 | 145-70-43110 | BUCKET ASS'Y | 7001-7374 | |
| 1 | 145-70-43121 | EDGE ASS'Y | 7379- | |
| 1 | 145-70-43120 | EDGE ASS'Y | 7377-7378 | |
| 1 | 145-70-43121 | EDGE ASS'Y | 7375-7376 | |
| 1 | 145-70-43120 | EDGE ASS'Y | 7001-7374 | |
| 2 | \6\ | EDGE | 7379- | |
| 2 | \6\ | EDGE | 7377-7378 | |
| 2 | \6\ | EDGE | 7375-7376 | |
| 2 | \6\ | EDGE | 7001-7374 | |
| 3 | 145-70-43140 | CORNER | 7001- | |
| 4 | 145-70-43150 | CORNER,L.H. | 7001- | |
| 4A | 145-70-43160 | BOSS,R.H. | 7001- | |
| 4B | 145-70-43170 | BOSS | 7001- | |
| 4C | 145-70-43180 | BOSS | 7001- | |
| 4D | 145-70-43190 | BOSS | 7001- | |
| 5 | 145-70-44180 | TOOTH | 10107- | |
| 5 | \0\145-70-44110 | TOOTH | 7379-10106 | |
| 5 | \0\145-70-44110 | TOOTH | 7377-7378 | |
| 5 | 145-70-44180 | TOOTH | 7375-7376 | |
| 5 | \0\145-70-44110 | TOOTH | 7375-7376 | |
| 5 | \0\145-70-44110 | TOOTH | 7001-7374 | |
| 5 | 145-70-44220 | TOOTH,(REINFORCED TYPE) | 7379- | |
| 5 | 145-70-44220 | TOOTH,(REINFORCED TYPE) | 7377-7378 | |
| 5 | 145-70-44220 | TOOTH,(REINFORCED TYPE) | 7375-7376 | |
| 5 | 145-70-44220 | TOOTH,(REINFORCED TYPE) | 7001-7374 | |
| 5A | 145-70-44210 | TIP | 7379- | |
| 5A | 145-70-44210 | TIP | 7377-7378 | |
| 5A | 145-70-44210 | TIP | 7375-7376 | |
| 5A | 145-70-44210 | TIP | 7001-7374 | |
| 6 | 145-70-44120 | BOLT | 7379- | |
| 6 | 145-70-44120 | BOLT | 7377-7378 | |
| 6 | 145-70-44120 | BOLT | 7375-7376 | |
| 6 | 145-70-44120 | BOLT | 7001-7374 | |
| 7 | 145-70-44130 | NUT | .- | |
| 7 | \0\125-70-21650 | NUT | 7379-. | |
| 7 | \0\125-70-21650 | NUT | 7377-7378 | |
| 7 | \0\125-70-21650 | NUT | 7375-7376 | |
| 7 | \0\125-70-21650 | NUT | 7001-7374 | |
| 8 | 145-70-43220 | PIN | 7001- | |
| 9 | 145-70-43210 | PIN | 7001- | |
| 10 | 145-70-43240 | BOLT | 7001- | |
| 11 | 01599-01415 | NUT | 7001- | |
| 12 | 145-70-43240 | BOLT | 7001- | |
| 13 | 155-70-13251 | PLUG | 7001- | |
| 14 | 07020-00000 | FITTING | 7001- |
