
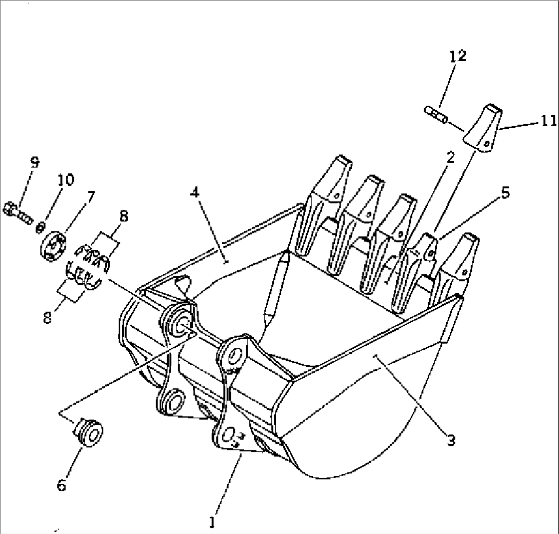
| Item | Part No. | Part Name | Qty | Serial No. |
| G-1 | (\8\209-939-X540) | BUCKET ASS'Y | 10501-10892 | |
| ==================== | ||||
| 1 | 209-939-5540 | BUCKET | 10501-10892 | |
| 2 | 209-939-5340 | PLATE (WELDED) | 10501-10892 | |
| 3 | 209-939-5370 | PLATE (WELDED) | 10501-10892 | |
| 4 | 209-939-5380 | PLATE (WELDED) | 10501-10892 | |
| 5 | 209-70-54142 | ADAPTER (WELDED) | 10501-10892 | |
| 6 | 209-70-54160 | BUSHING | 10501-10892 | |
| 7 | 209-70-54171 | COVER | 10501-10892 | |
| 8 | 209-70-00082 | SHIM ASS'Y | 10501-10892 | |
| \6\ | SHIM¤ 0.5MM | 10501-10892 | ||
| \6\ | SHIM¤ 1.0MM | 10501-10892 | ||
| 9 | 01010-82480 | BOLT | 10501-10892 | |
| 10 | 01643-32460 | WASHER | 10501-10892 | |
| 11 | 209-70-54210 | TOOTH | 10501-10892 | |
| 12 | 209-70-54240 | PIN ASS'Y | 10501-10892 | |
| ==================== |
