
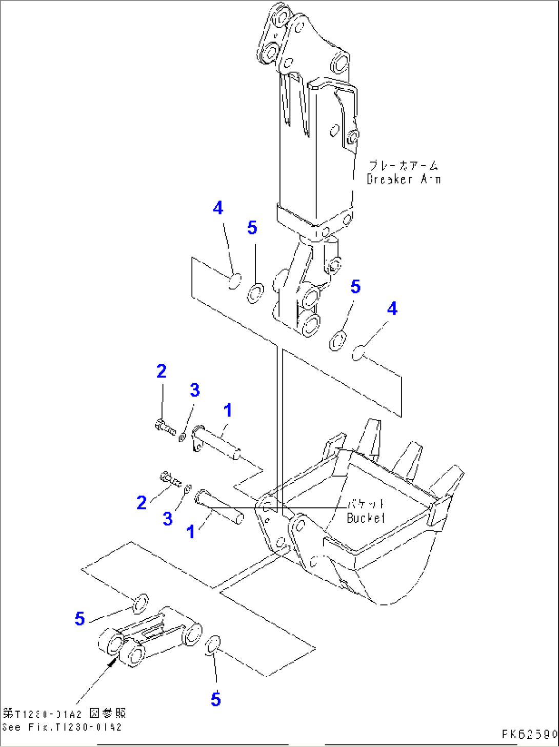
| Item | Part No. | Part Name | Qty | Serial No. |
| 1 | 20A-70-11870 | PIN,(BUCKET) | 15001- | |
| 2 | 01010-51020 | BOLT | 15001- | |
| 3 | 01643-31032 | WASHER | 15001- | |
| 4 | 21S-70-11430 | O-RING | 15001- | |
| 5 | 21R-70-11380 | SPACER¤ 1.0MM,1.0MM | 15001- |

| Item | Part No. | Part Name | Qty | Serial No. |
| 1 | 20A-70-11870 | PIN,(BUCKET) | 15001- | |
| 2 | 01010-51020 | BOLT | 15001- | |
| 3 | 01643-31032 | WASHER | 15001- | |
| 4 | 21S-70-11430 | O-RING | 15001- | |
| 5 | 21R-70-11380 | SPACER¤ 1.0MM,1.0MM | 15001- |