
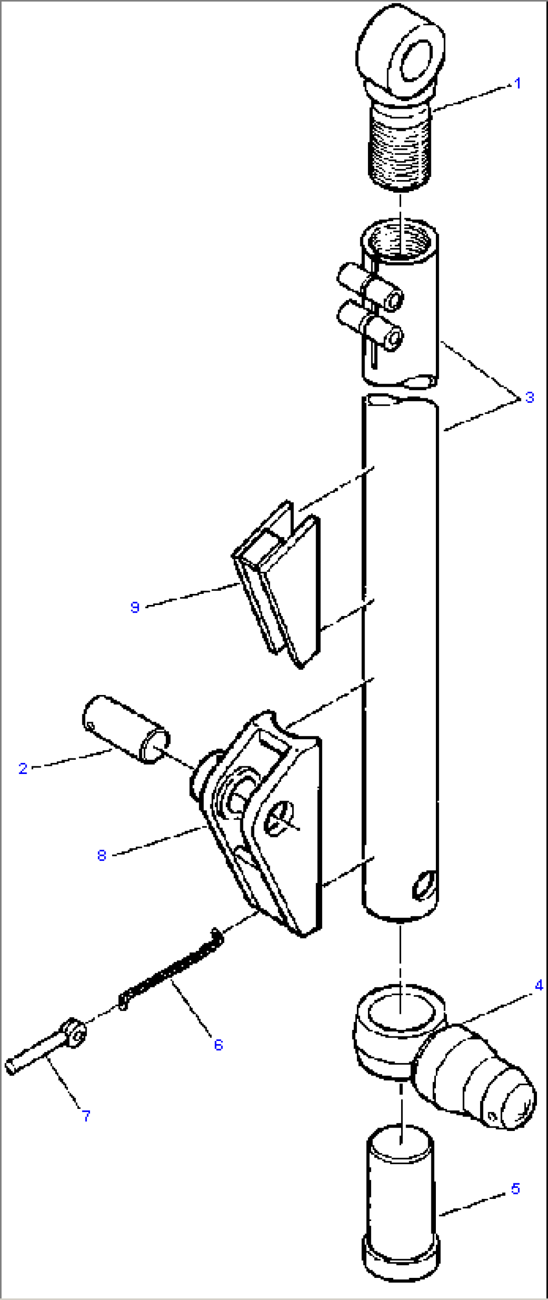
| Item | Part No. | Part Name | Qty | Serial No. |
| (NS) | STRUT ASSEMBLY, LOWER LEFT | |||
| 1 | 734 909 C1 | EYE BOLT, STRUT TO BLADE | ||
| 2 | 342 398 R1 | PIN, UPPER STRUT MOUNTING | ||
| 24 867 R1 | BOLT, MOUNTING | |||
| 9412 230 | NUT, LOCK | |||
| 3 | 742 387 C1 | BODY ASSEMBLY, STRUT | ||
| 24 896 R1 | BOLT, MOUNTING | |||
| 25 538 R1 | WASHER, FLAT | |||
| 9413 983 | NUT, LOCK | |||
| 4 | 290 915 R2 | TRUNNION, C FRAME | ||
| 5 | 290 916 R2 | PIN, TRUNNION | ||
| 6 | 290 287 R2 | CHAIN, PIN | ||
| 7 | 290 288 R1 | PIN, TRUNNION PIN LOCK | ||
| 8 | 315 496 R91 | BRACKET, UPPER STRUT MOUNTING | ||
| 9 | 323 642 R11 | RETAINER, STRUT |
