
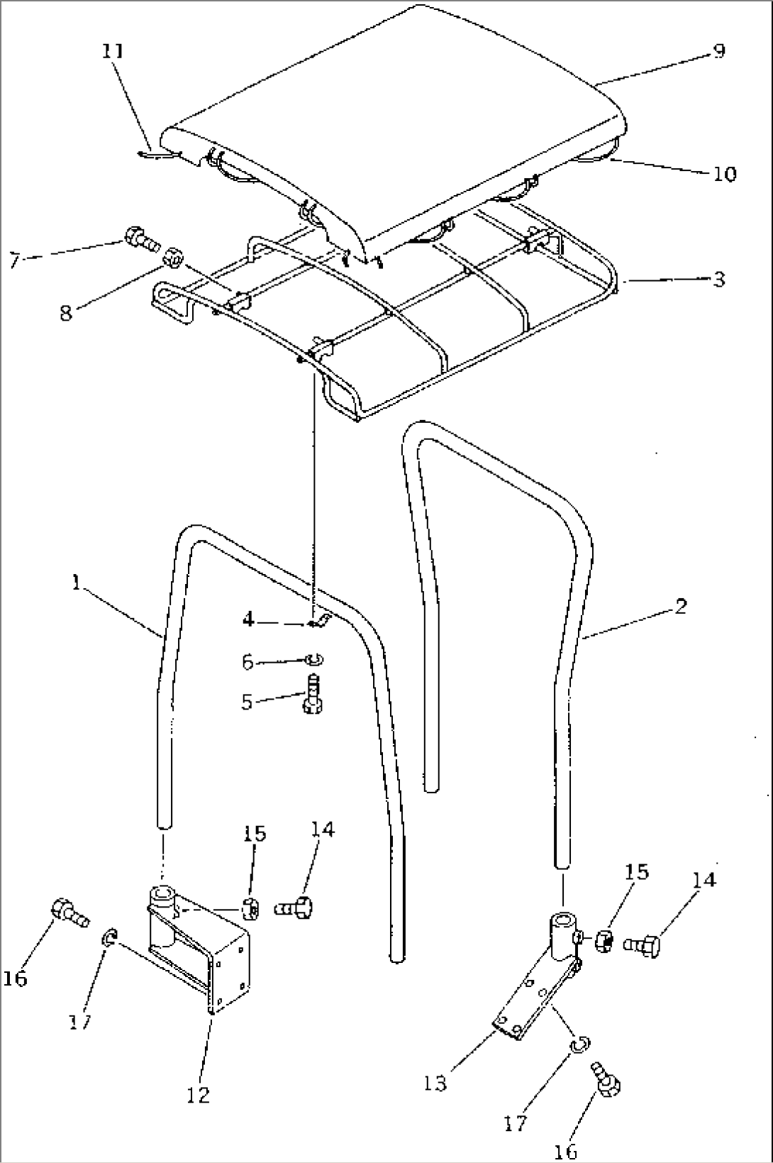
| Item | Part No. | Part Name | Qty | Serial No. |
| 1 | 104-Y06-1110 | POLE,FRONT | 75001- | |
| 2 | 103-Z06-1121 | POLE,REAR | 75001- | |
| 3 | 102-91-11191 | ROOF | 75001- | |
| 4 | 101-91-11150 | CLIP | 75001- | |
| 5 | 01010-51225 | BOLT | 75001- | |
| 6 | 01602-21236 | WASHER,SPRING | 75001- | |
| 7 | 01010-51230 | BOLT | 75001- | |
| 8 | 01580-11210 | NUT | 75001- | |
| 9 | 101-91-31140 | SHEET,CANVAS | 75001- | |
| 10 | 131-906-1220 | ROPE, 8.5M | 75001- | |
| 11 | 131-906-1230 | ROPE, 0.7M | 75001- | |
| 12 | 104-Y06-1130 | BRACKET,L.H. | 75001- | |
| 12 | 104-Y06-1140 | BRACKET,R.H. | 75001- | |
| 13 | 103-Z06-1151 | BRACKET,REAR | 75001- | |
| 14 | 01016-51445 | BOLT | 75001- | |
| 15 | 01580-11411 | NUT | 75001- | |
| 16 | 01010-51435 | BOLT | 75001- | |
| 17 | 01602-21442 | WASHER,SPRING | 75001- |
