
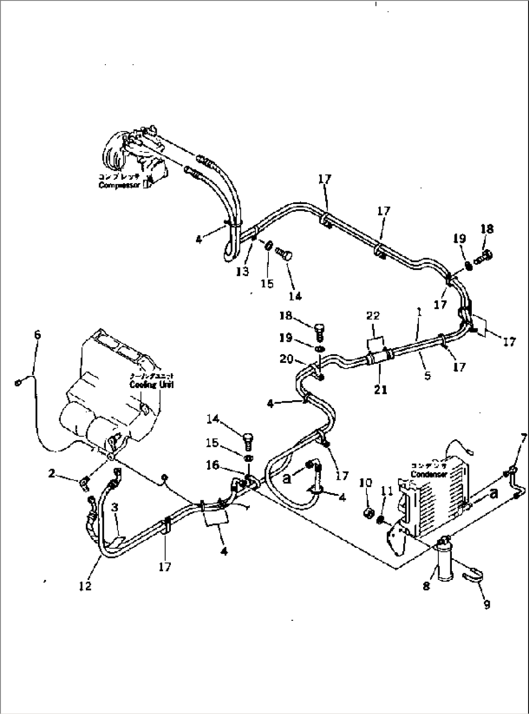
| Item | Part No. | Part Name | Qty | Serial No. |
| 1 | 207-978-3350 | HOSE | 12001- | |
| 2 | 205-981-5250 | ELBOW | 12001- | |
| 3 | 566-07-11450 | TAPE | 12001- | |
| 4 | 08034-00823 | BAND | 12001- | |
| 5 | 09488-20658 | HOSE | 12001- | |
| 6 | 205-978-7260 | WIRE ASS'Y | 12001- | |
| 7 | 207-978-3182 | TUBE | 12001- | |
| 8 | 566-07-11240 | RECEIVER | 12001- | |
| 9 | 07283-26155 | CLIP | 12001- | |
| 10 | 01599-01011 | NUT | 12001- | |
| 11 | 01643-31032 | WASHER | 12001- | |
| 12 | 207-978-3340 | HOSE | 12001- | |
| 13 | 145-01-42120 | CLIP | 12001- | |
| 14 | 01010-51225 | BOLT | 12001- | |
| 15 | 01643-31232 | WASHER | 12001- | |
| 16 | 23T-62-12160 | CLIP | 12001- | |
| 17 | 21T-06-11950 | CLIP | 12001- | |
| 18 | 01010-51225 | BOLT | 12001- | |
| 19 | 01643-31232 | WASHER | 12001- | |
| 20 | 08036-02514 | CLIP | 12001- | |
| 21 | 205-62-53780 | COVER | 12001- | |
| 22 | 08034-00823 | BAND | 12001- |
