
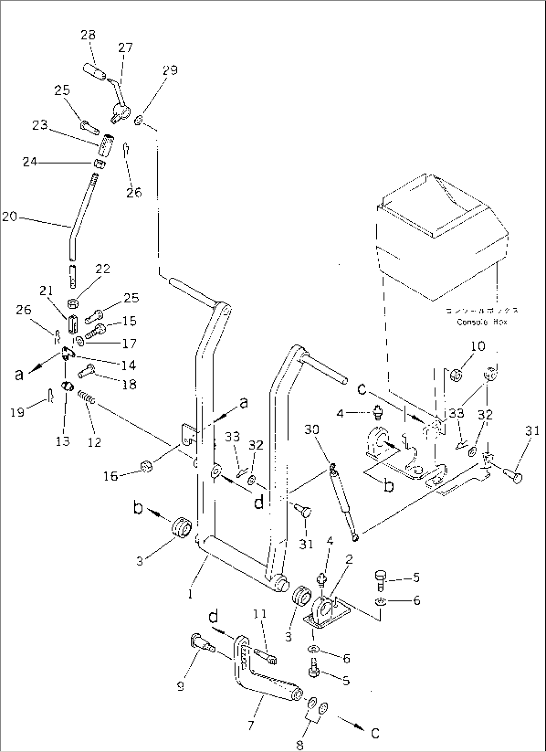
| Item | Part No. | Part Name | Qty | Serial No. |
| 1 | 23D-06-13140 | BRACKET | 60001- | |
| 2 | 23B-43-18260 | BRACKET,L.H. | 60001- | |
| 3 | 234-27-31880 | BUSHING | 60001- | |
| 4 | 07020-00000 | FITTING,GREASE | 60001- | |
| 5 | 01010-51235 | BOLT | 60001- | |
| 6 | 01643-31232 | WASHER | 60001- | |
| 7 | 23B-43-38620 | LEVER | 60001- | |
| 8 | 232-43-00320 | SHIM ASS'Y | 60001- | |
| 8 | \6\ | SHIM, 0.2MM | 60001- | |
| 8 | \6\ | SHIM, 0.5MM | 60001- | |
| 9 | 233-43-18420 | PIN | 60001- | |
| 10 | 01580-11613 | NUT | 60001- | |
| 11 | 238-43-38550 | BOLT | 60001- | |
| 12 | 238-43-38290 | SPRING | 60001- | |
| 13 | 238-43-38540 | YOKE | 60001- | |
| 14 | 238-43-38560 | LEVER | 60001- | |
| 15 | 01090-50825 | BOLT | 60001- | |
| 16 | 01580-10806 | NUT | 60001- | |
| 17 | 01643-30823 | WASHER | 60001- | |
| 18 | 04205-10828 | PIN | 60001- | |
| 19 | 234-43-18710 | PIN,SNAP | 60001- | |
| 20 | 23B-43-18380 | ROD | 60001- | |
| 21 | 238-43-38580 | YOKE | 60001- | |
| 22 | 01580-10806 | NUT | 60001- | |
| 23 | 04211-20844 | YOKE | 60001- | |
| 24 | 01580-10806 | NUT | 60001- | |
| 25 | 04205-10822 | PIN | 60001- | |
| 26 | 234-43-18710 | PIN,SNAP | 60001- | |
| 27 | 238-43-38612 | LEVER | 60001- | |
| 28 | 238-43-12310 | KNOB | 60001- | |
| 29 | 237-43-17420 | WASHER | 60001- | |
| 30 | 238-43-38310 | GAS SPRING ASS'Y | 60001- | |
| 31 | 04205-10830 | PIN | 60001- | |
| 32 | 01641-20812 | WASHER | 60001- | |
| 33 | 234-43-18710 | PIN,SNAP | 60001- |
