
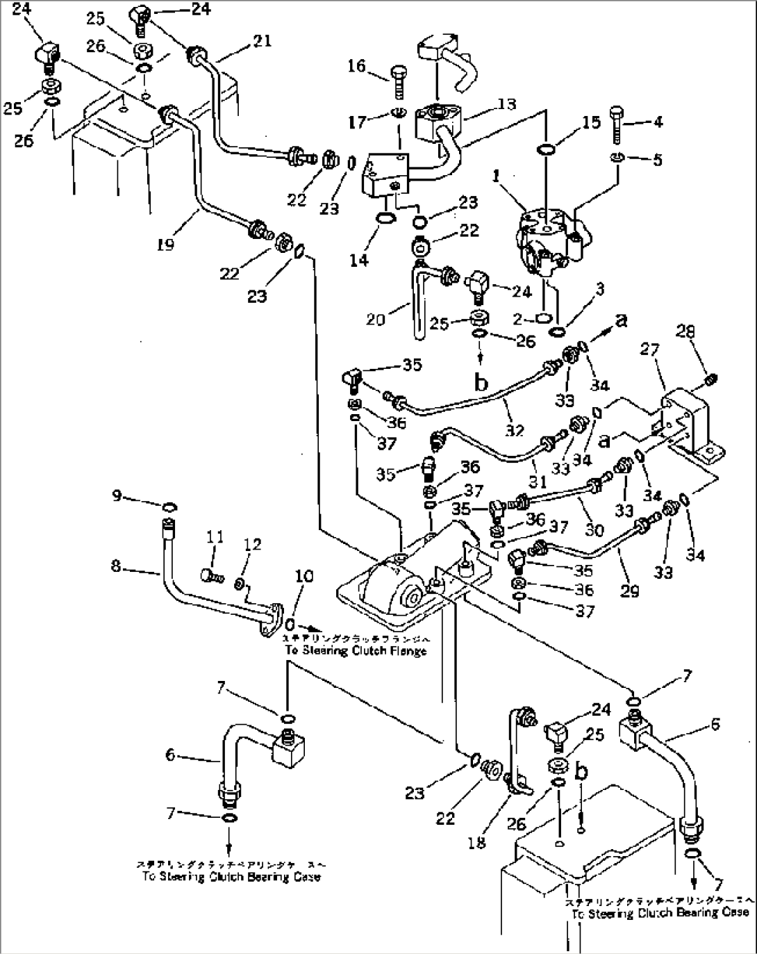
| Item | Part No. | Part Name | Qty | Serial No. |
| 1 | (144-49-00050) | RELIEF VALVE ASS'Y | 45001- | |
| 2 | 07000-03022 | O-RING | 45001- | |
| 3 | 07000-02012 | O-RING | 45001- | |
| 4 | 01010-51060 | BOLT | 45001- | |
| 5 | 01602-21030 | WASHER,SPRING | 45001- | |
| 6 | 144-49-16480 | TUBE | 45001- | |
| 7 | 07000-02018 | O-RING | 45001- | |
| 8 | 144-21-11453 | TUBE | 45001- | |
| 9 | 07000-02018 | O-RING | 45001- | |
| 10 | 07000-02015 | O-RING | 45001- | |
| 11 | 01010-51025 | BOLT | 45001- | |
| 12 | 01602-21030 | WASHER,SPRING | 45001- | |
| 13 | 144-49-16410 | TUBE | 45001- | |
| 14 | 07000-03028 | O-RING | 45001- | |
| 15 | 07000-03025 | O-RING | 45001- | |
| 16 | 01010-51050 | BOLT | 45001- | |
| 17 | 01602-21030 | WASHER,SPRING | 45001- | |
| 18 | 144-49-16440 | TUBE | 45001- | |
| 19 | 144-49-16450 | TUBE | 45001- | |
| 20 | 144-49-16460 | TUBE | 45001- | |
| 21 | 144-49-16470 | TUBE | 45001- | |
| 22 | 07211-51016 | NIPPLE | 45001- | |
| 23 | 07002-01623 | O-RING | 45001- | |
| 24 | 130-49-61780 | ELBOW | 45001- | |
| 25 | 01583-11610 | NUT | 45001- | |
| 26 | 07002-01623 | O-RING | 45001- | |
| 27 | 130-49-61790 | BLOCK | 45001- | |
| 28 | 07042-20108 | PLUG | 45001- | |
| 29 | 144-49-16631 | TUBE | 45001- | |
| 30 | 144-49-16621 | TUBE | 45001- | |
| 31 | 144-49-16641 | TUBE | 45001- | |
| 32 | 144-49-16651 | TUBE | 45001- | |
| 33 | 07211-50508 | NIPPLE | 45001- | |
| 34 | 07002-00823 | O-RING | 45001- | |
| 35 | 195-49-21360 | ELBOW | 45001- | |
| 36 | 01580-10806 | NUT | 45001- | |
| 37 | 07002-00823 | O-RING | 45001- |
