
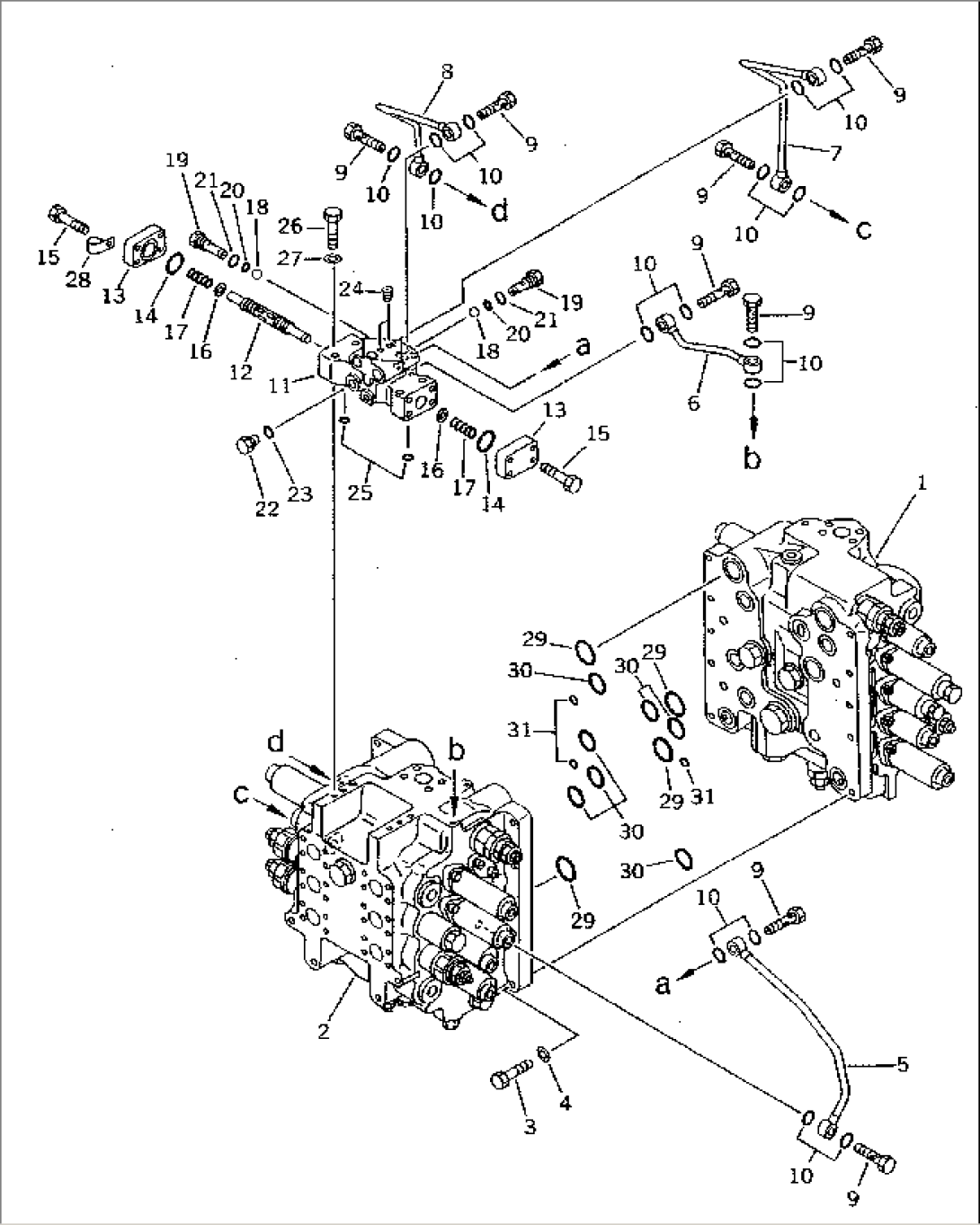
| Item | Part No. | Part Name | Qty | Serial No. |
| 709-99-13104 | CONTROL VALVE ASS'Y | 20001- | ||
| (\2\709-99-13103) | CONTROL VALVE ASS'Y | (20001-21514) | ||
| (\2\709-99-13102) | CONTROL VALVE ASS'Y | (20001-.) | ||
| THESE ASSEMBLIES CONSIST OF ALL PARTS SHOWN IN FIGS.6201 TO 6207. | ||||
| 1 | (709-95-93104) | VALVE ASS'Y | 20001- | |
| 1 | (\2\709-95-93103) | VALVE ASS'Y | (20001-21514) | |
| 1 | (\2\709-95-93102) | VALVE ASS'Y | (20001-.) | |
| 2 | (709-94-93103) | VALVE ASS'Y | 20001- | |
| 2 | (\2\709-94-93102) | VALVE ASS'Y | (20001-.) | |
| 3 | 01010-51250 | BOLT | 20001- | |
| 4 | 01643-31232 | WASHER | 20001- | |
| 5 | 709-99-11132 | TUBE | 20001- | |
| 6 | 709-99-11111 | TUBE | 20001- | |
| 7 | 709-99-11141 | TUBE | 20001- | |
| 8 | 709-99-11121 | TUBE | 20001- | |
| 9 | 709-79-11190 | BOLT | 20001- | |
| 10 | 07000-02011 | O-RING | 20001- | |
| 709-70-91901 | SHUTTLE VALVE ASS'Y | .- | ||
| 709-70-91900 | SHUTTLE VALVE ASS'Y | 20001-. | ||
| 11 | \6\ | BODY | 20001- | |
| 12 | \6\ | SPOOL | 20001- | |
| 13 | 709-70-91150 | PLATE | 20001- | |
| 14 | 07000-13025 | O-RING | 20001- | |
| 15 | 01010-50825 | BOLT | 20001- | |
| 16 | 706-73-77140 | PLATE | 20001- | |
| 17 | 709-70-91240 | SPRING | .- | |
| 17 | 709-70-91130 | SPRING | 20001-. | |
| 18 | 04260-00952 | BALL | 20001- | |
| 19 | 709-70-91220 | PLUG | 20001- | |
| 20 | 07000-01007 | O-RING | 20001- | |
| 21 | 07002-01423 | O-RING | 20001- | |
| 22 | 07040-11409 | PLUG | 20001- | |
| 23 | 07002-01423 | O-RING | 20001- | |
| 24 | 07043-70108 | PLUG | 20001- | |
| 25 | 07000-11009 | O-RING | 20001- | |
| 26 | 01010-50855 | BOLT | 20001- | |
| 27 | 01643-30823 | WASHER | 20001- | |
| 28 | 08036-30810 | CLIP | 20001- | |
| 29 | 07000-13040 | O-RING | 20001- | |
| 30 | 07000-13032 | O-RING | 20001- | |
| 31 | 07000-02010 | O-RING | 20001- |
