
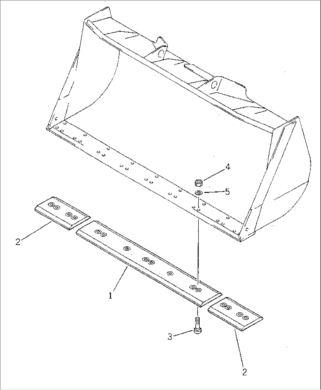
| Item | Part No. | Part Name | Qty | Serial No. |
| 1 | 421-815-1111 | EDGE,CENTER | .- | |
| \0\421-815-1110 | EDGE,CENTER | 10001-. | ||
| 2 | 421-815-1131 | EDGE,SIDE | .- | |
| \0\421-815-1130 | EDGE,SIDE | 10355-. | ||
| 421-815-1120 | EDGE,SIDE | 10001-10354 | ||
| 3 | 02090-11485 | BOLT | 10001- | |
| 4 | 02290-11422 | NUT | 10001- | |
| 5 | 01643-32260 | WASHER | 10001- |
