
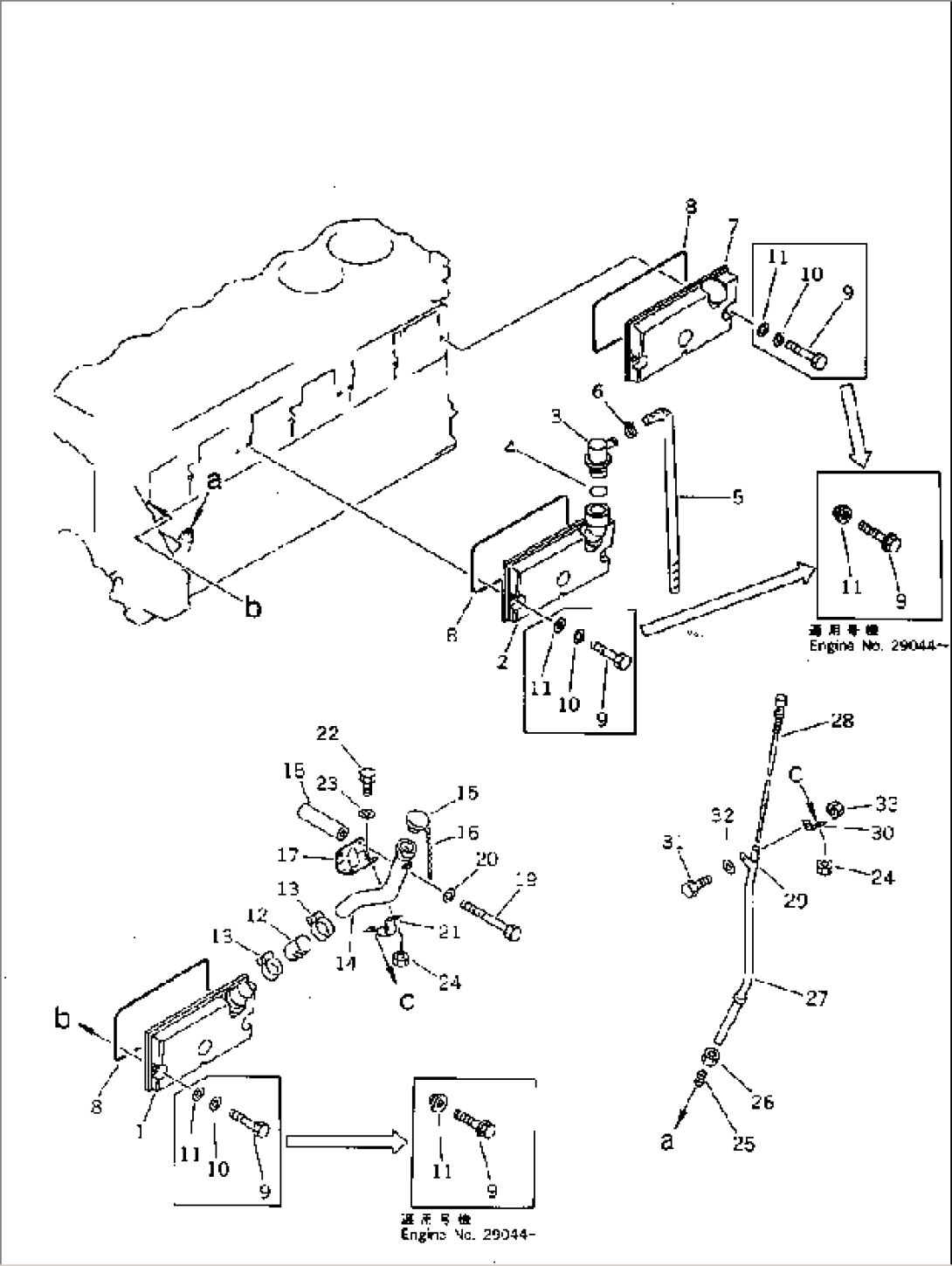
| Item | Part No. | Part Name | Qty | Serial No. |
| 1 | 6150-21-6500 | COVER ASS'Y | 10001- | |
| \6\ | COVER | 10001- | ||
| \6\ | TUBE | 10001- | ||
| 2 | 6150-21-6601 | COVER ASS'Y | 10001- | |
| \6\ | COVER | 10001- | ||
| \6\ | CONNECTOR | 10001- | ||
| 3 | 6150-21-6710 | BREATHER | 10001- | |
| 4 | 6114-21-5190 | O-RING (K2) | 10001- | |
| 5 | 07286-01963 | HOSE | 10001- | |
| 6 | 07285-00220 | CLIP | 10001- | |
| 7 | 6150-21-6310 | COVER | 10001- | |
| 8 | 6150-21-6460 | O-RING (K2) | 10001- | |
| 9 | 6210-21-6471 | BOLT | 29114- | |
| \3\6150-21-6470 | BOLT | 10001-29113 | ||
| (6210-21-6471{6150-21-6390)} | ||||
| 10 | 6136-11-8130 | WASHER | 10001-29113 | |
| 11 | 6150-21-6390 | PACKING | 29114- | |
| \1\6136-11-8142 | PACKING (K2) | 10001-29113 | ||
| 12 | 6150-21-6530 | HOSE | 10001- | |
| 13 | 07281-00609 | CLAMP | 10001- | |
| 14 | 6150-21-7110 | FILLER,OIL | 10001- | |
| 15 | 6136-21-7120 | CAP ASS'Y | 10001- | |
| 6136-21-7180 | GASKET | 10001- | ||
| 16 | 6136-21-7190 | CHAIN | 10001- | |
| 17 | 6150-21-6540 | BRACKET | 10001- | |
| 18 | 6136-11-5120 | SPACER | 10001- | |
| 19 | 01011-51000 | BOLT | 10001- | |
| 20 | 01640-21016 | WASHER | 10001- | |
| 21 | 07282-04311 | CLAMP | 10001- | |
| 22 | 01010-51025 | BOLT | 10001- | |
| 23 | 01642-21016 | WASHER | 10001- | |
| 24 | 01580-11008 | NUT | 10001- | |
| 25 | 6150-21-5920 | COLLAR | 10001- | |
| 26 | 6150-21-5930 | NUT | 10001- | |
| 27 | 6150-21-5450 | GUIDE | 10001- | |
| 28 | 6150-21-5331 | GAUGE,OIL LEVEL | 10001- | |
| 29 | 6144-21-5650 | CLIP | 10001- | |
| 30 | 6150-21-5720 | BRACKET | 10001- | |
| 31 | 01010-50816 | BOLT | 10001- | |
| 32 | 01642-20810 | WASHER | 10001- | |
| 33 | 01580-10806 | NUT | 10001- |
