
| Item | Part No. | Part Name | Qty | Serial No. |
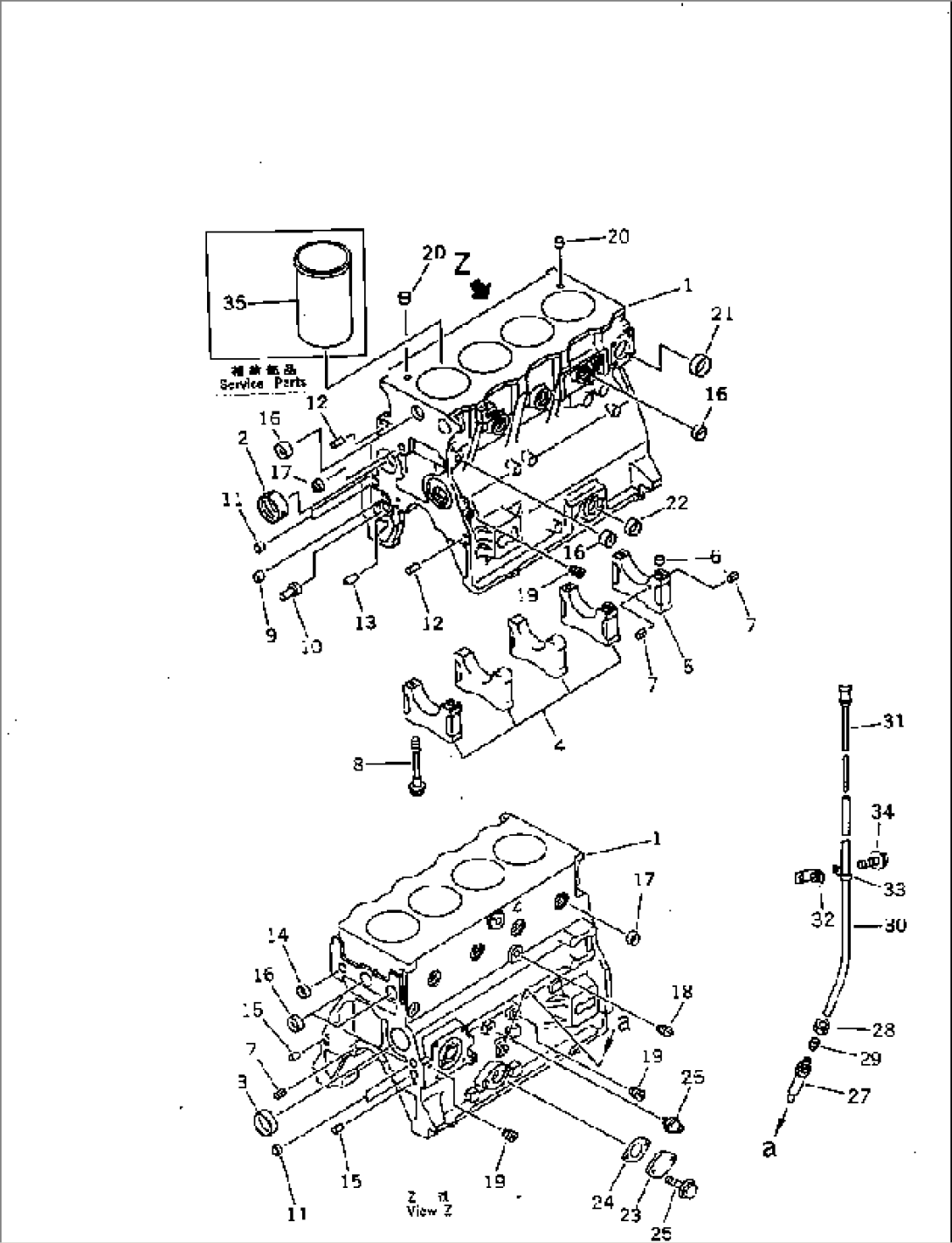
| 6204-21-1102 | CYLINDER BLOCK ASS'Y | 49969- | ||
| 1 | \6\ | BLOCK,CYLINDER | 49969- | |
| 2 | 6204-21-1410 | BUSHING,CAMSHAFT | 49969- | |
| 3 | 6206-21-1420 | BUSHING,CAMSHAFT | 49969- | |
| 4 | \5\6204-29-1210 | CAP,MAIN METAL, NO.1,2,3,4 | 49969- | |
| 5 | \5\6204-29-1220 | CAP,MAIN METAL, NO.5 | 49969- | |
| 6 | 6141-21-1530 | RING,DOWEL | 49969- | |
| 7 | 04025-00408 | PIN,SPRING | 49969- | |
| 8 | 6204-21-1610 | BOLT,MAIN CAP | 49969- | |
| 9 | 6204-51-1711 | BUSHING,OIL PUMP | 49969- | |
| 10 | 6204-51-1620 | SHAFT,OIL PUMP | 49969- | |
| 11 | 07046-41810 | PLUG | 49969- | |
| 12 | 04020-00820 | PIN,DOWEL | 49969- | |
| 13 | 6136-52-1620 | PIN,DOWEL | 49969- | |
| 14 | 07046-42216 | PLUG | 49969- | |
| 15 | 04020-01228 | PIN,DOWEL | 49969- | |
| 16 | 07046-43016 | PLUG | 72522- | |
| 16 | 07046-43016 | PLUG | 49969-72521 | |
| 17 | 07046-42516 | PLUG | 61311- | |
| 17 | 07046-42516 | PLUG | 49969-61310 | |
| 18 | 07042-10312 | PLUG | 49969- | |
| 19 | 07043-50108 | PLUG | 49969- | |
| 20 | 6140-21-1130 | BUSHING,DOWEL | 49969- | |
| 21 | 07046-44016 | PLUG | 49969- | |
| 22 | 07046-23016 | PLUG | 49969- | |
| 23 | 6204-21-6710 | PLATE | 49969- | |
| 24 | 6132-11-4820 | GASKET (K2) | 49969- | |
| 25 | 01435-20814 | BOLT | 49969- | |
| 26 | 08073-00505 | SWITCH | 49969- | |
| 27 | 6204-21-5510 | GUIDE,BASE | 49969- | |
| 28 | 6150-21-5930 | NUT | 49969- | |
| 29 | 6150-21-5920 | COLLAR | 49969- | |
| 30 | 6204-21-5421 | GUIDE,OIL GAUGE | 49969- | |
| 31 | 6204-21-5350 | GAUGE,OIL | 49969- | |
| 32 | 6204-23-5910 | STAY | 49969- | |
| 33 | 6144-21-5590 | CLAMP | 49969- | |
| 34 | 01435-21020 | BOLT | 49969- | |
| 35 | 6207-21-2110 | LINER (MARK A),CYLINDER | 49969- | |
| 35 | 6207-21-2120 | LINER (MARK B),CYLINDER | 49969- |
