
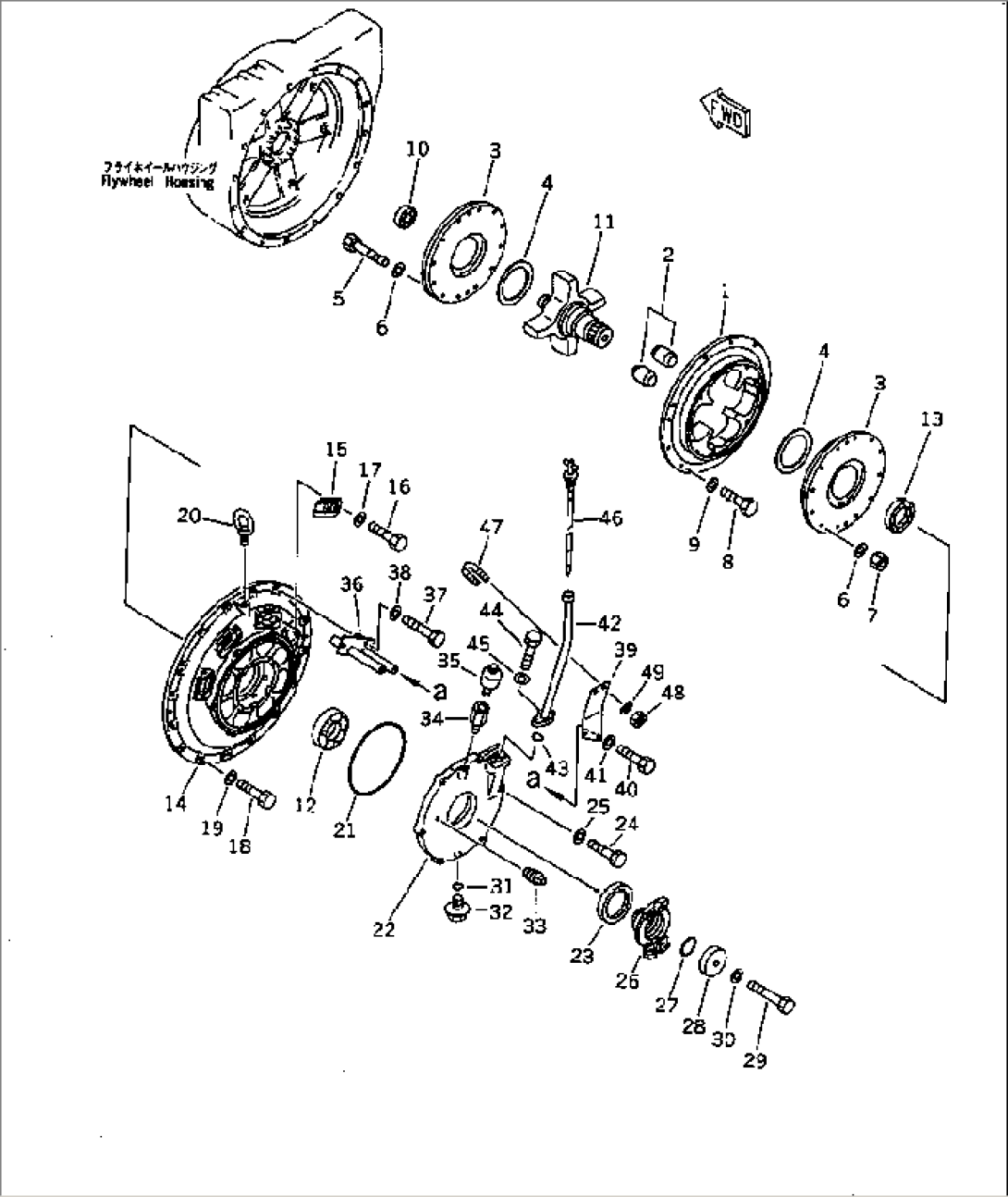
| Item | Part No. | Part Name | Qty | Serial No. |
| 1 | 195-12-21110 | BODY,OUTER | 16001- | |
| 2 | 285-01-12411 | CUSHION,RUBBER | 16001- | |
| 3 | 195-12-21131 | FLANGE | 16001- | |
| 4 | 198-12-11240 | SEAL,OIL | 16001- | |
| 5 | 01011-51215 | BOLT | 16001- | |
| 6 | 01643-31232 | WASHER | 16001- | |
| 7 | 01580-11210 | NUT | 16001- | |
| 8 | 01010-51645 | BOLT | 16001- | |
| 9 | 01643-31645 | WASHER | 16001- | |
| 10 | 195-09-18460 | BEARING,BALL | 16001- | |
| 11 | 195-12-31240 | SHAFT | 16001- | |
| 12 | 06030-06317 | BEARING,BALL | 16001- | |
| 13 | 07012-40110 | SEAL,OIL | 16001- | |
| 14 | 195-12-31111 | COVER | 16001- | |
| 15 | 195-12-11241 | COVER | 16001- | |
| 16 | 01010-50816 | BOLT | 16001- | |
| 17 | 01643-30823 | WASHER | 16001- | |
| 18 | 01010-51235 | BOLT | 16001- | |
| 19 | 01643-31232 | WASHER | 16001- | |
| 20 | 04530-11018 | BOLT,EYE | 16001- | |
| 21 | 07000-45360 | O-RING | 16001- | |
| 22 | 195-12-31122 | RETAINER | 16064- | |
| 23 | 07012-40110 | SEAL,OIL | 16001- | |
| 24 | 01010-51255 | BOLT | 16001- | |
| 25 | 01643-31232 | WASHER | 16001- | |
| 26 | 195-12-11160 | COUPLING | 16001- | |
| 27 | 07000-45075 | O-RING | 16001- | |
| 28 | 195-12-11210 | HOLDER | 16001- | |
| 29 | 01011-51600 | BOLT | 16001- | |
| 30 | 01643-31645 | WASHER | 16001- | |
| 31 | 07002-42434 | O-RING | 16001- | |
| 32 | 07044-12412 | PLUG | 16001- | |
| 33 | 07042-30108 | PLUG | 16001- | |
| 34 | 170-21-11190 | NIPPLE | 16001- | |
| 35 | 07030-00252 | BREATHER | 16001- | |
| 36 | 195-12-31230 | BRACKET | 16001- | |
| 37 | 01010-51285 | BOLT | 16283- | |
| 37 | 01010-51270 | BOLT | 16001-16282 | |
| 38 | 01643-31232 | WASHER | 16001- | |
| 39 | 195-12-31220 | BRACKET | 16001- | |
| 40 | 01010-51230 | BOLT | 16001- | |
| 41 | 01643-31232 | WASHER | 16001- | |
| 42 | 195-12-31190 | TUBE | 16001- | |
| 43 | 07000-43028 | O-RING | 16001- | |
| 44 | 01010-51035 | BOLT | 16001- | |
| 45 | 01643-31032 | WASHER | 16001- | |
| 46 | 195-12-31210 | GAUGE ASS'Y | 16001- | |
| 47 | 07283-32738 | CLIP | 16001- | |
| 48 | 01599-01011 | NUT | 16001- | |
| 49 | 01643-31032 | WASHER | 16001- |
