
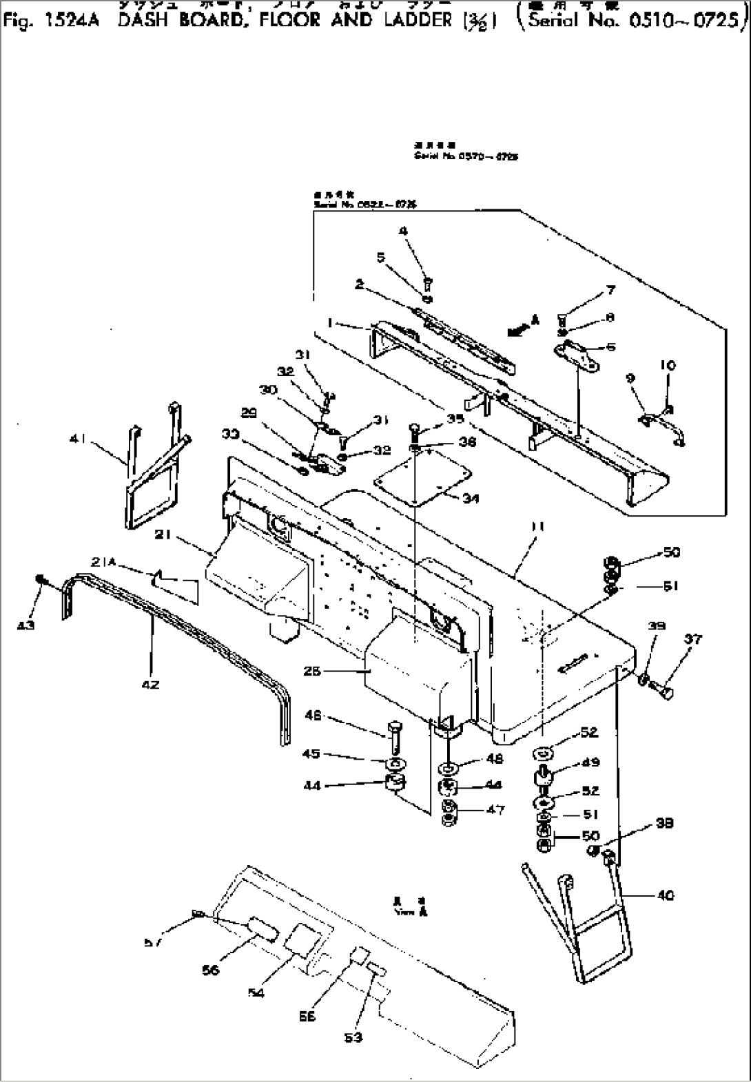
| Item | Part No. | Part Name | Qty | Serial No. |
| 565-54-12302 | PANEL BOX ASS'Y | 522-725 | ||
| 565-54-12301 | PANEL BOX ASS'Y | 510-521 | ||
| 1 | 565-54-12334 | BOX | 522-725 | |
| 565-54-12333 | BOX | 510-521 | ||
| 2 | 565-54-12343 | PANEL | 510-725 | |
| 3 | 565-54-12640 | PANEL | 510-521 | |
| 4 | 01220-40408 | SCREW | 510-521 | |
| 5 | 01601-20410 | WASHER | 510-521 | |
| 6 | 565-54-12390 | NOZZLE | 510-@ | |
| 7 | 01220-40508 | SCREW | 510-@ | |
| 8 | 01601-20513 | WASHER | 510-@ | |
| 9 | 565-54-12370 | GRIP | 510-@ | |
| 10 | 01225-40416 | SCREW | 510-@ | |
| 565-54-12003 | DASHBOARD ASS'Y | 510-725 | ||
| 11 | 565-54-12116 | DASHBOARD | .-725 | |
| 565-54-12115 | DASHBOARD | 510-. | ||
| 12 | 565-54-12170 | BOLT | 510-512 | |
| 13 | 01010-51025 | BOLT | 510-512 | |
| 14 | 01010-51035 | BOLT | 510-512 | |
| 15 | 01602-21030 | WASHER | 510-512 | |
| 16 | 01580-11008 | NUT | 510-512 | |
| 17 | 565-54-12180 | CUSHION | 510-569 | |
| 18 | 565-54-12210 | BOX | 510-569 | |
| 19 | 01010-50816 | BOLT | 510-725 | |
| 20 | 01602-20825 | WASHER | 510-725 | |
| 21 | 565-54-12141 | BOX | 570-725 | |
| 565-54-12140 | BOX | 510-569 | ||
| 21A | 565-54-12680 | PLATE | 570-725 | |
| 22 | 01010-50825 | BOLT | 510-512 | |
| 23 | 01602-20825 | WASHER | 510-512 | |
| 24 | 01643-20823 | WASHER | 510-512 | |
| 25 | 565-54-12151 | BOX | 522-725 | |
| \0\565-54-12150 | BOX | 510-521 | ||
| 26 | 01010-50825 | BOLT | 510-521 | |
| 27 | 01602-20825 | WASHER | 510-521 | |
| 28 | 01643-20823 | WASHER | 510-521 | |
| 29 | 565-54-62152 | PLATE | 510-@ | |
| 30 | 565-54-62160 | PLATE | 510-@ | |
| 31 | 01010-50816 | BOLT | 510-@ | |
| 32 | 01602-20825 | WASHER | 510-@ | |
| 33 | 01580-10806 | NUT | 510-@ | |
| 34 | 565-54-12160 | COVER | 510-725 | |
| 35 | 01010-50612 | BOLT | 510-725 | |
| 36 | 01602-20619 | WASHER | 510-725 | |
| 37 | 01010-51030 | BOLT | 510-@ | |
| 38 | 01580-11008 | NUT | 510-@ | |
| 39 | 01602-21030 | WASHER | 510-@ | |
| 40 | 565-54-12270 | STEP,L.H. | 510-@ | |
| 41 | 565-54-12280 | STEP,R.H. | 510-@ | |
| 42 | 565-54-12651 | LACE | 570-725 | |
| 565-54-12650 | LACE | 510-569 | ||
| 43 | 565-54-14330 | RIVET | 570-725 | |
| \0\475-54-11320 | RIVET | 570-725 | ||
| 565-54-14330 | RIVET | 510-569 | ||
| \0\475-54-11320 | RIVET | 510-569 | ||
| 44 | 565-54-12410 | CUSHION,FRONT | 510-725 | |
| 45 | 565-54-12430 | PLATE | 510-725 | |
| 46 | 01051-32005 | BOLT | 510-725 | |
| 47 | 01583-12012 | NUT | 510-725 | |
| 48 | 565-54-12440 | SHIM | 510-725 | |
| 49 | 565-54-12420 | CUSHION,REAR | 510-725 | |
| 50 | 01583-11610 | NUT | 510-725 | |
| 51 | 01643-21645 | WASHER | 510-725 | |
| 52 | 565-54-12460 | SHIM | 510-725 | |
| 53 | 09649-00100 | PLATE¤ INSTRUCTION | 510-725 | |
| 54 | 565-54-12451 | PLATE¤ CAUTION | 510-725 | |
| 55 | 560-54-12464 | PLATE¤ NAME | 510-725 | |
| 56 | 09602-01643 | PLATE¤ NAME | 510-725 | |
| 57 | 01370-00406 | SCREW | 510-725 | |
| 58 | 09415-03614 | CAP | 510-521 | |
| 59 | 566-54-13970 | GROMMET | 510-521 | |
| 60 | 566-54-13980 | GROMMET | 510-521 | |
| 61 | 09415-02512 | CAP | 510-521 |
