
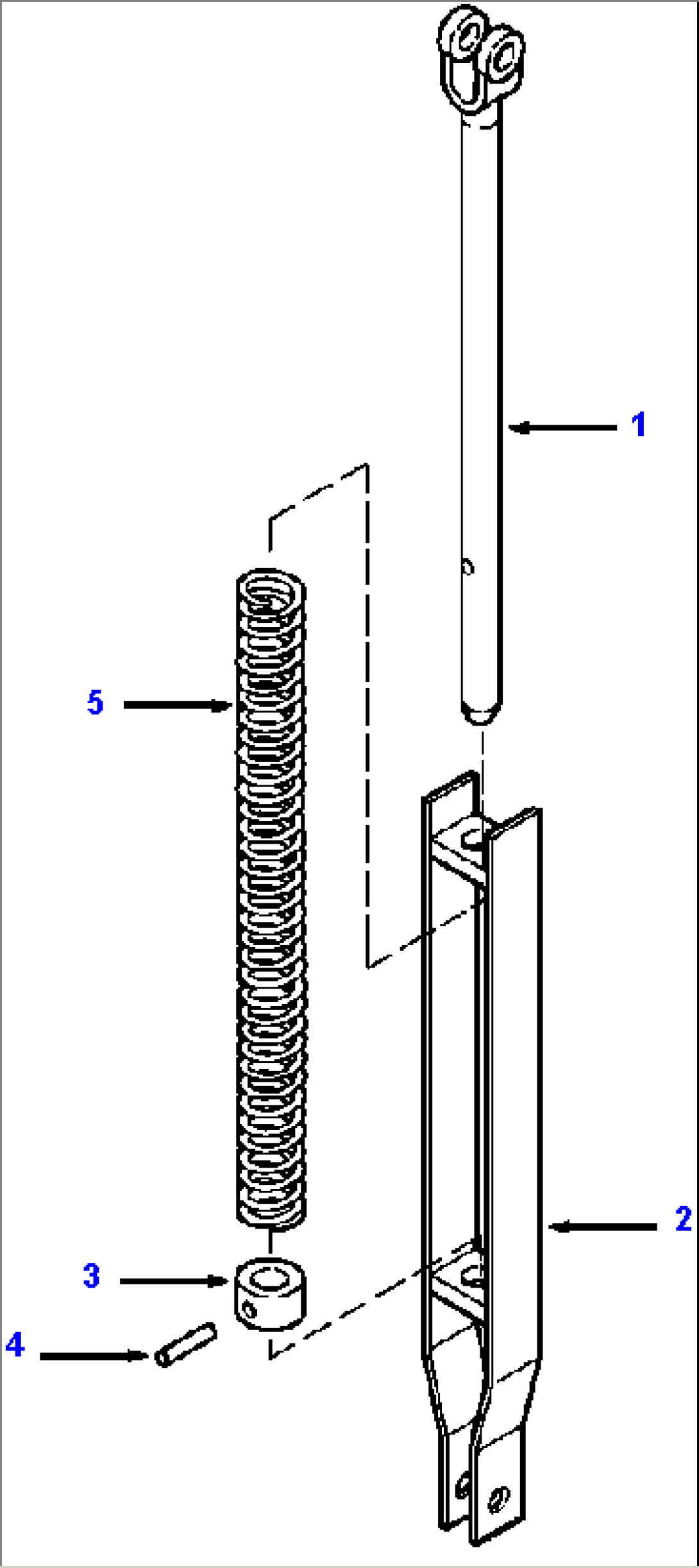
| Item | Part No. | Part Name | Qty | Serial No. |
| (1268 228 H91) | OVER TRAVEL ASSY, DECELERATOR | |||
| 1 | 1258 317 H91 | ROD, OVER TRAVEL | ||
| 2 | 1258 319 H91 | BODY, OVER TRAVEL | ||
| 3 | 331 150 R1 | SPACER, SPRING | ||
| 4 | 364 437 R1 | PIN, SPRING - 3/16x7/8 | ||
| 5 | 1258 320 H1 | SPRING, OVER TRAVEL | ||
| F1 - PART NUMBER IS A NON-SERVICE PART AND IS LISTED FOR REFERENCE ONLY. | ||||
