
| Item | Part No. | Part Name | Qty | Serial No. |
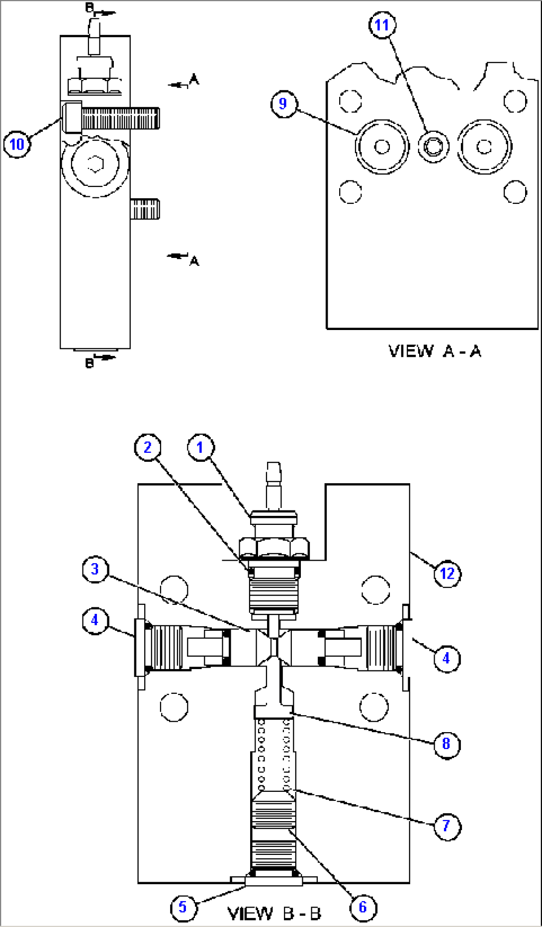
| 1 | BF3407 | SWITCH ASSEMBLY | ||
| 2 | WA0054 | O-RING | ||
| 3 | SPOOL ASSEMBLY (1) | |||
| 4 | BF3409 | PLUG | ||
| 5 | VE0388 | PLUG | ||
| 6 | BF3410 | PLUG, SCREW | ||
| 7 | VE9055 | SPRING (GREEN) | ||
| 8 | PISTON (1) | |||
| 9 | SEAL (1) | |||
| 10 | BF3413 | SCREW | ||
| 11 | SEAL (1) | |||
| 12 | BODY (1) | |||
| NS|13 | NOTE: (1) NOT SERVICED SEPARATELY. |
