
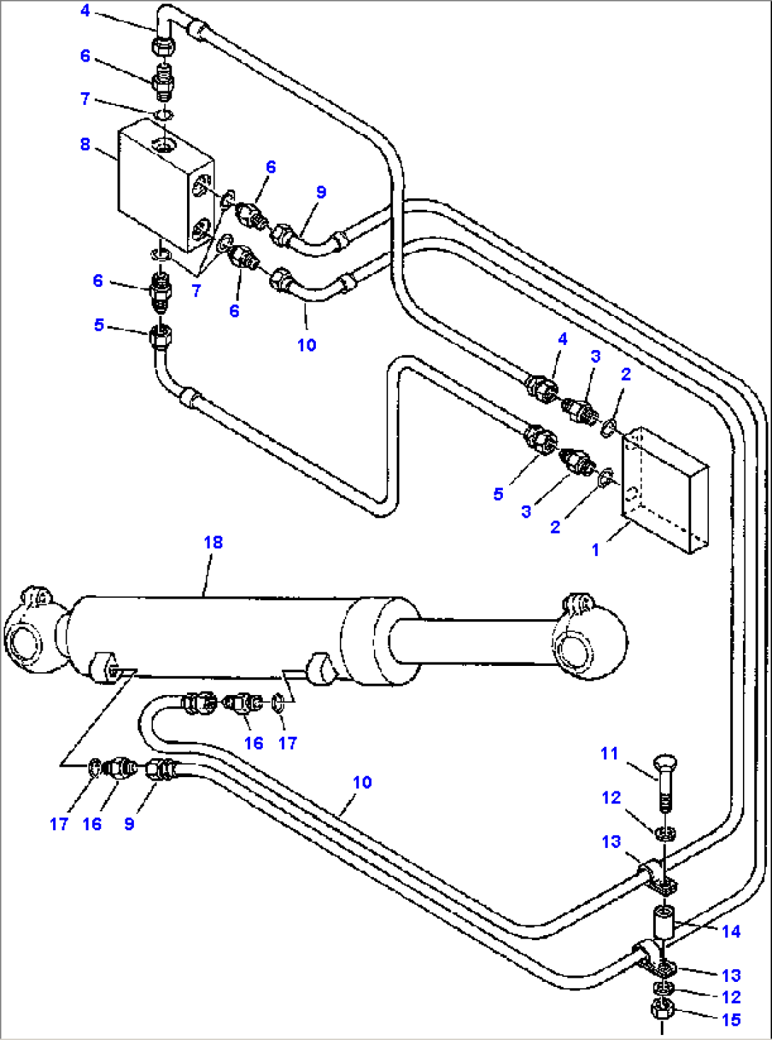
| Item | Part No. | Part Name | Qty | Serial No. |
| 1 | VALVE, DRAWBAR SIDE SHIFT CYLINDER (SEE PG 10-170) | |||
| 2 | 570 828 R1 | O-RING | ||
| 3 | 9410 203 | CONNECTOR | ||
| 4 | 1253 470 H1 | HOSE | ||
| 5 | 1253 057 H1 | HOSE | ||
| 6 | 9410 203 | CONNECTOR | ||
| 7 | 570 828 R1 | O-RING | ||
| 8 | VALVE, DUAL COUNTERBALANCE (SEE PG 10-178) | |||
| 9 | 1431 403 H1 | HOSE | ||
| 10 | 1431 402 H1 | HOSE | ||
| 11 | 24 843 R1 | BOLT | ||
| 12 | 25 534 R1 | WASHER, FLAT | ||
| 13 | 299 413 C1 | CLAMP | ||
| 14 | 58 546 A | SPACER | ||
| 15 | 25 522 R1 | NUT, HEX | ||
| 16 | 481 352 R1 | CONNECTOR | ||
| 17 | 364 885 R1 | O-RING | ||
| 18 | CYLINDER, DRAWBAR SIDE SHIFT (SEE PG 10-216) |
