
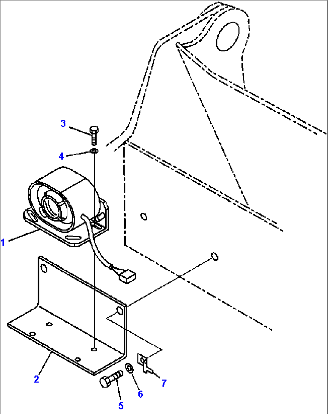
| Item | Part No. | Part Name | Qty | Serial No. |
| 1 | 20Y-06-A4510 | ALARM | A88001-- | |
| 2 | 20Y-06-A1270 | BRACKET | A88001-- | |
| 3 | 01010-80816 | BOLT | A88001-- | |
| 4 | 01643-30823 | WASHER | A88001-- | |
| 5 | 01010-81225 | BOLT | A88001-- | |
| 6 | 01643-31232 | WASHER | A88001-- | |
| 7 | 08193-21012 | CLIP | A88001-- |

| Item | Part No. | Part Name | Qty | Serial No. |
| 1 | 20Y-06-A4510 | ALARM | A88001-- | |
| 2 | 20Y-06-A1270 | BRACKET | A88001-- | |
| 3 | 01010-80816 | BOLT | A88001-- | |
| 4 | 01643-30823 | WASHER | A88001-- | |
| 5 | 01010-81225 | BOLT | A88001-- | |
| 6 | 01643-31232 | WASHER | A88001-- | |
| 7 | 08193-21012 | CLIP | A88001-- |